Published:2009/7/12 22:41:00 Author:May | From:SeekIC

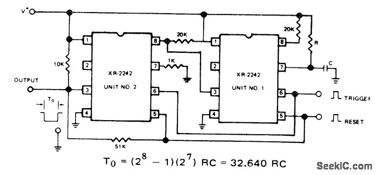
Cascaded operation of Exar XR-2242 long-range timers provides ultralong time delays, up to 1 year, Cascading of counter sections provides 32,640 clock cycles before output pin 3 of unit 2 changes state. Common pull-up resistor makes counter section of unit 2 trigger each time output of unit 1 makes positive-going transition. Cascading additional timer with unit 2 extends time delay to 1.065 x 109RC. With RC values giving 0.1 s, time delay becomes 3.4 years.- Timer Data Book, Exar Integrated Systems, Sunnyvale, CA, 1978, p 19-22.
Reprinted Url Of This Article:
http://www.seekic.com/circuit_diagram/Control_Circuit/Time_Control/1_YEAR_TIMER.html
Print this Page | Comments | Reading(3)
Code: