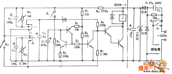
Published:2011/3/22 3:33:00 Author:may | Keyword: Fan cycle timer | From:SeekIC

Fan cycle timer circuit is shown in the following diagram:
Reprinted Url Of This Article:
http://www.seekic.com/circuit_diagram/Control_Circuit/Time_Control/Fan_cycle_timer_circuit.html
Print this Page | Comments | Reading(3)
Code: