© 2008-2012 SeekIC.com Corp.All Rights Reserved.
Published:2011/7/26 2:58:00 Author:Ecco | Keyword: primary timing controller | From:SeekIC

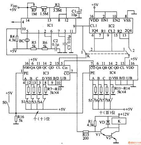
The primary timing controller circuit consists of the clock generator, divider, programming unit, driver controller and alarm, etc., and it is shown in Figure 3-83. Clock generator circuit is composed of an internal time-base circuit of the dual time-base integrated circuit ICl and the resistors R2 and R3, potentiometer RP, capacitor Cl and so on. Divider is a dual decade counter integrated circuit IC2. Programmer is reversible counter IC IC3, and 1C4 take into decimal subtraction counter IC. Drive control circuit consists of transistors Vl and V2, resistors Rl5 and Rl, diode VDl and relay K.
Reprinted Url Of This Article:
http://www.seekic.com/circuit_diagram/Control_Circuit/Time_Control/Primary_timing_controller_1.html
Print this Page | Comments | Reading(3)
Response in 12 hours
© 2008-2012 SeekIC.com Corp.All Rights Reserved.
Code: