© 2008-2012 SeekIC.com Corp.All Rights Reserved.
Published:2011/7/26 3:01:00 Author:Ecco | Keyword: Primary timing controller | From:SeekIC

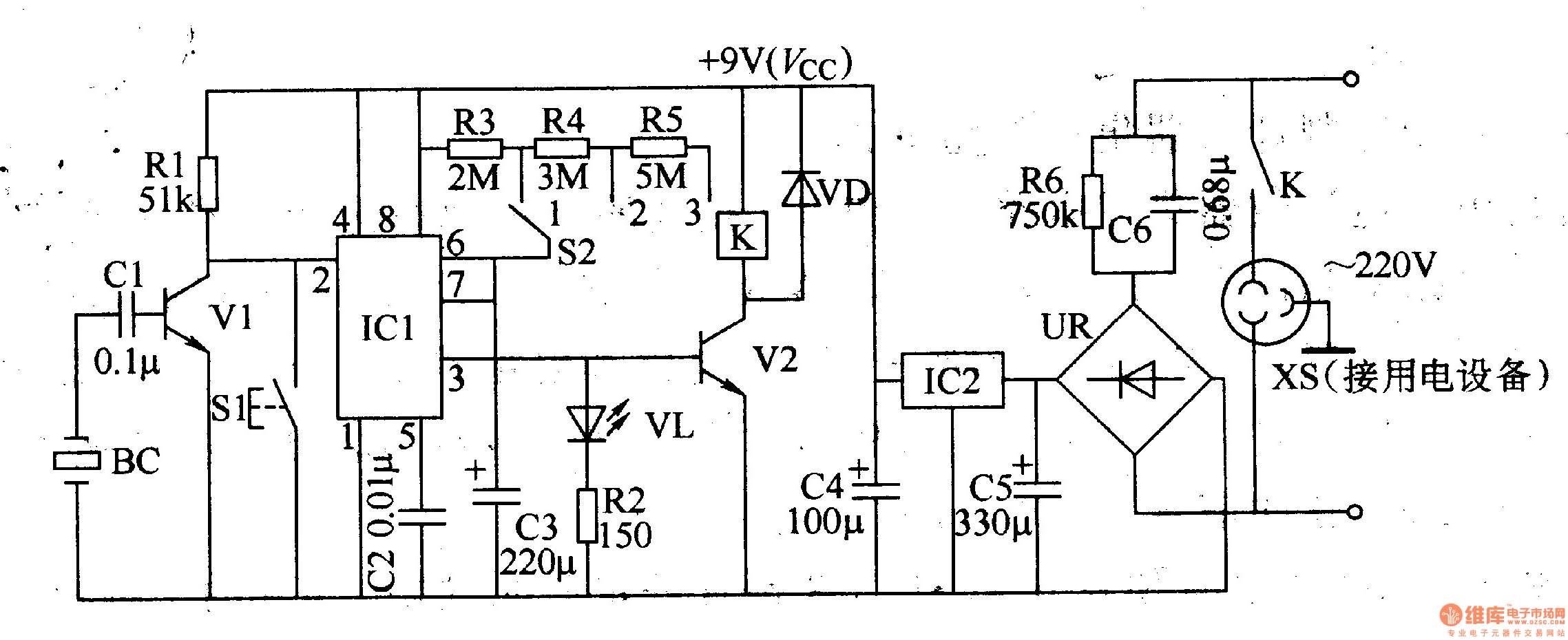
The timing controller circuit consists of the power supply circuit, input control circuit, timing circuit and output control circuit and other components, and it is shown in Figure 3-84. The power supply circuit is composed of step-down capacitor C6, resistor R6, bridge rectifier UR, filtering capacitors C5, C4 and three terminal integrated voltage regulator IC2. Input control circuit consists of the capacitor Cl, transistor Vl, resistor Rl and switch Sl. Timing circuit consists of the time-base integrated circuit ICl and the external components. Output control circuit consists of transistor V2, relay K and diode VD and other components.
Reprinted Url Of This Article:
http://www.seekic.com/circuit_diagram/Control_Circuit/Time_Control/Primary_timing_controller_2.html
Print this Page | Comments | Reading(3)
Response in 12 hours
© 2008-2012 SeekIC.com Corp.All Rights Reserved.
Code: