© 2008-2012 SeekIC.com Corp.All Rights Reserved.
Published:2011/7/26 3:07:00 Author:Ecco | Keyword: Primary timing controller | From:SeekIC

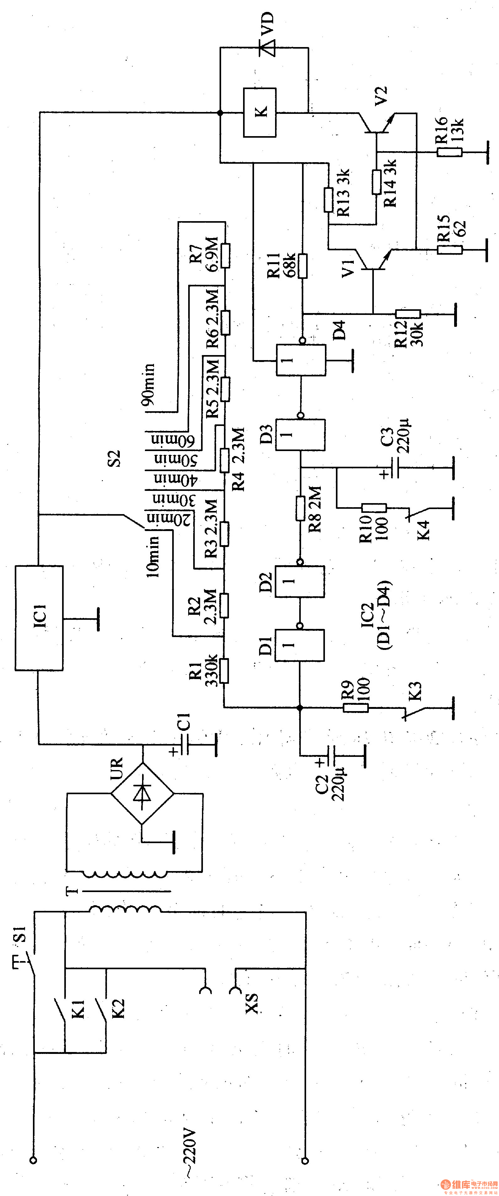
The primary timing controller circuit is composed of the power regulator circuit, timing time selection circuit, Schmitt trigger control circuit and delay circuit, and it is shown in Figure 3-86. Power supply regulator circuit consists of the start button Sl, power transformer T, bridge rectifier UR, filter capacitor Cl and three-terminal voltage regulator integrated circuit ICl. Timing time selection circuit is composed of selector switch S2 and resistors Rl-R7. Delay circuit consists of capacitors C2, C3, resistors R9, RlO, normally closed contacts K3, K4 of relay K and NOT gate integrated circuit IC2 (Dl-D4).
Reprinted Url Of This Article:
http://www.seekic.com/circuit_diagram/Control_Circuit/Time_Control/Primary_timing_controller_4.html
Print this Page | Comments | Reading(3)
Response in 12 hours
© 2008-2012 SeekIC.com Corp.All Rights Reserved.
Code: