Published:2009/6/17 3:56:00 Author:May | From:SeekIC

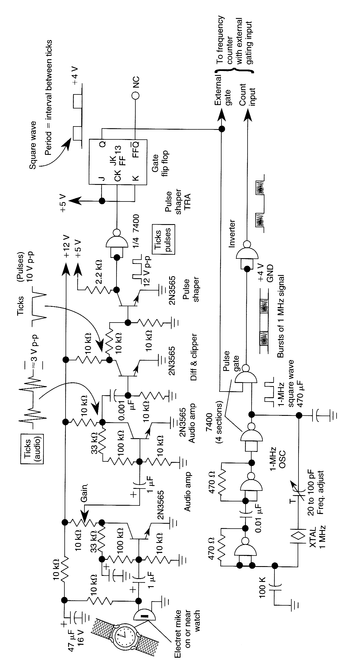
This circuit adapts a frequency counter to measure intervals. It was originally used as a shutter speed checker for a photo ap-plication. The watch ticks are clipped and shaped and formed into a square wave. This square wave is used to gate an accurately known clock (1-MHz TTL XTAL OSC) and an external counter is used to directly count the clock pulses during the interval to be measured. A 1-MHz clock can be used to measure to a resolution of 1 psec. Accuracy = ± time base ±1 μs ±t1 count LSB.
Reprinted Url Of This Article:
http://www.seekic.com/circuit_diagram/Control_Circuit/Time_Control/WATCH_TICK_TIMER.html
Print this Page | Comments | Reading(3)
Code: