Published:2009/6/19 4:39:00 Author:May | From:SeekIC

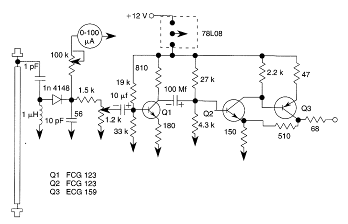
This unit picks up your ATV signal by sampling the transmission line with negligible insertion loss. It uses 2 N connectors for input and output connections. A BNC connector is used on the video output. The detected output is connected to your rrtonitor and scope so that you can accu-rately adjust your transmitter for proper video and synch levels. TWo different models are provided.Both have relative power output meters, but one has greater accuracy. There are two PC controls, one for video level and the other for power output.
Reprinted Url Of This Article:
http://www.seekic.com/circuit_diagram/Electrical_Equipment_Circuit/TV_Circuit/ATV_VIDEO_SAMPLER_CIRCUIT.html
Print this Page | Comments | Reading(3)
Code: