Published:2009/6/18 4:29:00 Author:May | From:SeekIC

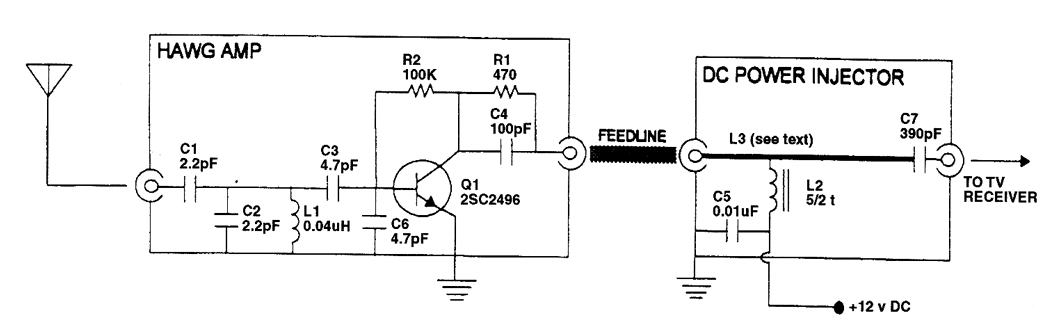
This simple ATV preamp covers the 427-to 439-MHz ATV frequencies and can be mast mounted and dc powered through the feedline.
Reprinted Url Of This Article:
http://www.seekic.com/circuit_diagram/Electrical_Equipment_Circuit/TV_Circuit/MAST_MOUNTED_ATV_PREAMP.html
Print this Page | Comments | Reading(3)
Code: