Published:2009/6/22 23:40:00 Author:Jessie | From:SeekIC

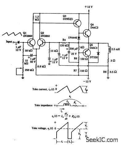
Two transistors are used to drive the yoke(2.5 mH + 0.3Ω) in this deflection circuit. R8 samples the yoke current and provides feedback to Q2, resulting in a very linear current ramp through the yoke.
Reprinted Url Of This Article:
http://www.seekic.com/circuit_diagram/Electrical_Equipment_Circuit/TV_Circuit/TELEVISION_VERTICAL_DEFLECTION_CIRCUIT.html
Print this Page | Comments | Reading(3)
Code: