Published:2011/6/6 5:27:00 Author:Felicity | Keyword: Bell of the Bicycle (the 1st) | From:SeekIC

Work of the circuit
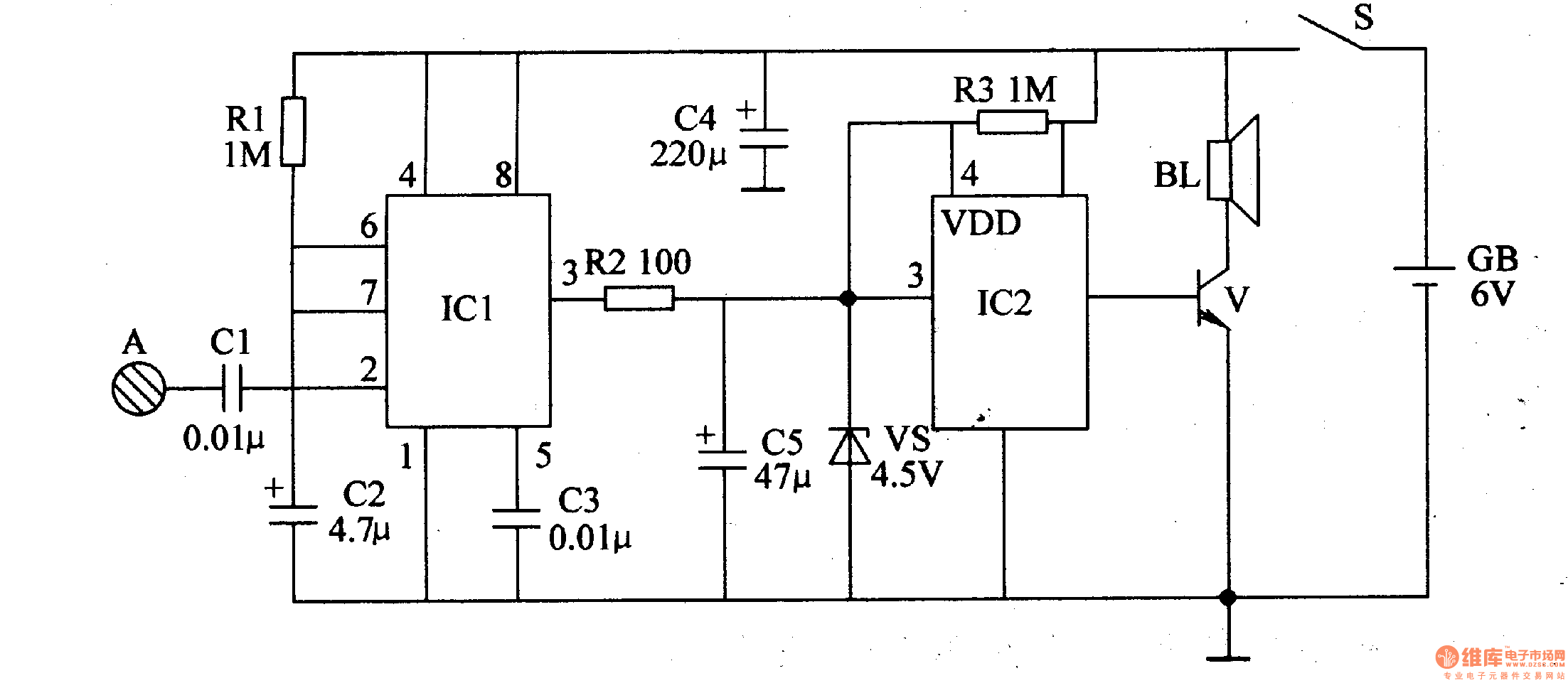
The circuit consists of monostable trigger and voice circuit. (It is showed in picture 7-167.).
When you turn on the power switch Sthemonostable trigger is in the stable condition. Loudspeaker BL makes no sound.
When our hand touches pole A the body inducted signal is supplied to IC1’s pin 2 through C1. In this situation loudspeaker BL makes sound.
Reprinted Url Of This Article:
http://www.seekic.com/circuit_diagram/Electrical_Equipment_Circuit/Video_Circuit/Bell_of_the_Bicycle_the_1st.html
Print this Page | Comments | Reading(3)
Code: