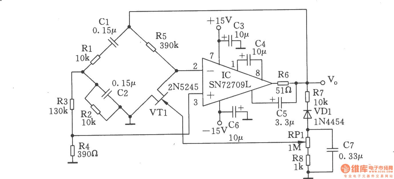
Published:2011/4/10 22:43:00 Author:Ecco | Keyword: Wien-bridge , sine wave generator | From:SeekIC

Reprinted Url Of This Article:
http://www.seekic.com/circuit_diagram/Signal_Processing/Sine_Signal_Generating/Wien_bridge_sine_wave_generator_2.html
Print this Page | Comments | Reading(3)
Code: