Published:2011/8/8 2:16:00 Author:Ecco | Keyword: Digital lock | From:SeekIC

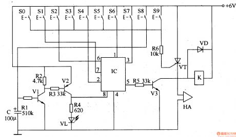
The digital lock circuit is composed of the timing trigger circuit, trick lock circuit, sound and alarm circuit and control implementation circuit, and it is shown in Figure 3-101. Timing trigger circuit is composed of the transistors Vl, V2, resistors Rl-R4, light-emitting diode VL and capacitor C. The trick lock circuit is composed of the password buttons S0-S9 and electronic lock integrated circuit IC. Sound and alarm circuit is composed of resistor R6, thyristor VT and alarm HA. Control implementation circuit is composed of the resistor, transistor V3, relay K (or electric locks), and diode VD.
Reprinted Url Of This Article:
http://www.seekic.com/circuit_diagram/electrical_equipment_circuit/digital_lock_4.html
Print this Page | Comments | Reading(3)
Code: