Published:2011/8/15 21:19:00 Author:Ecco | Keyword: Three-tone electronic doorbell | From:SeekIC

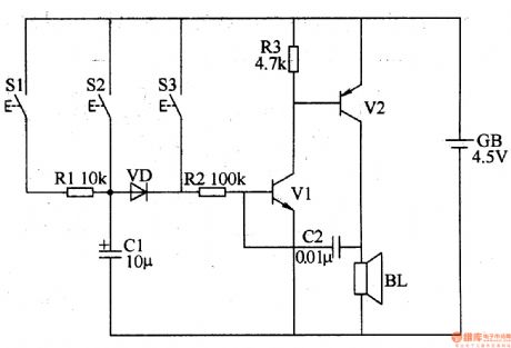
The three-tone electronic doorbell circuit consists of buttons Sl-S3, transistors Vl, V2, speaker BL, resistors Rl-R3, capacitors Cl, C2, diode VD and battery GB, and it is shown in Figure 3-109. Rl-R3 use the 1/4W carbon film resistors or metal film resistors. Cl uses the electrolytic capacitor with voltage in 16V; C2 uses the monolithic capacitors or polyester capacitors. VD uses the 2AP9 germanium ordinary diode or 1N4148 silicon switching diode. Vl uses the 3DG6 or S9013 silicon NPN transistor; V2 uses the 3AX31 germanium PNP transistor.
Reprinted Url Of This Article:
http://www.seekic.com/circuit_diagram/electrical_equipment_circuit/three_tone_electronic_doorbell_1.html
Print this Page | Comments | Reading(3)
Code: