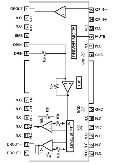
Features: HSOP 25-pin power package allows for miniaturization of applications (BA6195FP-Y).Wide dynamic range. (typically 5.4V when VCC = 8V, RL = 8)Internal thermal shutdown circuit with hysteresis.Internal level shift circuit, for a minimal number of attached components.Internal operational amp...
BA6195FP-Y: Features: HSOP 25-pin power package allows for miniaturization of applications (BA6195FP-Y).Wide dynamic range. (typically 5.4V when VCC = 8V, RL = 8)Internal thermal shutdown circuit with hysteresi...
SeekIC Buyer Protection PLUS - newly updated for 2013!
268 Transactions
All payment methods are secure and covered by SeekIC Buyer Protection PLUS.
HSOP 25-pin power package allows for miniaturization of applications (BA6195FP-Y).
Wide dynamic range. (typically 5.4V when VCC = 8V, RL = 8)
Internal thermal shutdown circuit with hysteresis.
Internal level shift circuit, for a minimal number of attached components.
Internal operational amplifier with wide dynamic range.

| Parameter | Symbol | Limits | Unit | |
| Power supply voltage | Vcc |
18 | V | |
| Power dissipation | BA6195FP-Y | Pd | 1450*1 | mW |
| BA6195 | 1250*2 | |||
| Operating temperature | Topr | -35~+85 | ||
| Storage temperature | Tstg | -55~+150 | ||
The BA6195FP-Y and BA6195 are ICs for CD players and have one internal BTL power driver circuit and one operational amplifier circuit with a wide output dynamic range. The wide dynamic range and internal operational amplifier make these ICs ideal for low voltage drive. The driver's internal level shift circuit reduces the number of attached components needed.