Published:2011/5/11 20:38:00 Author:Nicole | Keyword: Beijing Hyundai, Sonata car, V6 motor, oxygen sensor, EOM connecting
View full Circuit Diagram | Comments | Reading(811)
Published:2011/5/11 20:35:00 Author:Nicole | Keyword: Mazda, throttle, position sensor, PCM connecting
View full Circuit Diagram | Comments | Reading(887)
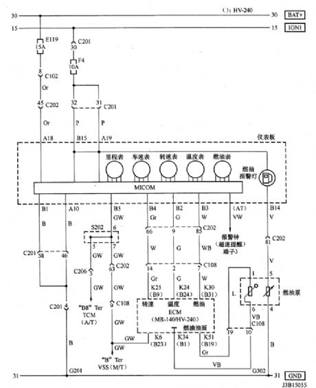
Published:2011/5/11 20:32:00 Author:Nicole | Keyword: Buick Excelle, 1.6L car, thermometer, fuel gauge, odometer, speedometer, fuel warning light
View full Circuit Diagram | Comments | Reading(670)
Published:2011/5/11 20:25:00 Author:Nicole | Keyword: Shanghai GM Regal, crankshaft, camshaft, position sensor, connector terminal
This crankshaft position sensor is electromagnetic, it is fixed to the front left side of motor, the sensor's signal rotor has 58 (60-2)teeth and two teeth notch. When the singal rotor passes sensor, it induces singal voltage, the singal frequency indicates motor rotational speed, the singal of tooth notch indicates crankshaft position. The ignition timing of motor control module is decided by the sensor singal. If the crankshaft position sensor singal loses, the motor ignition system will be no high voltage, the motor can not run. In the figure 1, A is power supply wire, B is singal wire, C is grounding wire.
(View)
View full Circuit Diagram | Comments | Reading(504)
Published:2011/5/11 4:27:00 Author:Rebekka | Keyword: Car backing-up anticollision device
Here is the diagram of car backing-up anticollision device circuit. (View)
View full Circuit Diagram | Comments | Reading(2013)
Published:2011/5/11 1:31:00 Author:Nicole | Keyword: Jetta CiX, cigar lighter, air conditioner, control board, floodlight, indoor light
Jetta CiX cigar lighter, air conditioner control board floodlight, indoor light, luggage floodlight and license plate lamp circuit diagram
(View)
View full Circuit Diagram | Comments | Reading(1124)
Published:2011/5/11 1:26:00 Author:Nicole | Keyword: Jetta CiX, headlamp, parking lamp, dimmer lamp, steering lamp, hazard warning light
View full Circuit Diagram | Comments | Reading(523)
Published:2011/5/11 1:23:00 Author:Nicole | Keyword: Jetta CiX, steering lamp, tail lamp, light switch, brake lamp
View full Circuit Diagram | Comments | Reading(679)
Published:2011/5/11 1:21:00 Author:Nicole | Keyword: reversing lamp, rear windshield heating, loudspeaker, front fog lamp, rear fog lamp
View full Circuit Diagram | Comments | Reading(582)
Published:2011/5/11 1:17:00 Author:Nicole | Keyword: Jetta CiX, front windshield, wiper, washer, radio, loudspeaker
View full Circuit Diagram | Comments | Reading(652)
Published:2011/5/11 1:37:00 Author:Nicole | Keyword: Jetta CiX, fuel gauge, coolant temperature gauge, acousto-optic oil pressure warning
Jetta CiX fuel gauge, coolant temperature gauge, acousto-optic oil pressure warning digital clock, tachometer, parking brake, fuel pump and fuel sensor circuit diagram
(View)
View full Circuit Diagram | Comments | Reading(1196)
Published:2011/5/11 1:44:00 Author:Nicole | Keyword: Jetta CiX, generator, starter, engine oil, pressure switch, coolant temperature sensor
Jetta CiX generator, starter, engine oil pressure switch, coolant temperature sensor, vehicle speed sensor circuit diagram
(View)
View full Circuit Diagram | Comments | Reading(2245)
Published:2011/5/11 2:12:00 Author:Nicole | Keyword: DONGFENG Citroen Elysee, SRS
View full Circuit Diagram | Comments | Reading(606)
Published:2011/5/11 2:45:00 Author:Nicole | Keyword: DONGFENG Citroen Elysee, audio system
View full Circuit Diagram | Comments | Reading(612)
Published:2011/5/11 2:55:00 Author:Nicole | Keyword: DONGFENG Citroen Elysee, response anti-start device
View full Circuit Diagram | Comments | Reading(654)
Published:2011/5/11 2:10:00 Author:Nicole | Keyword: VW Polo, 1.4L car, combined meter
View full Circuit Diagram | Comments | Reading(770)
Published:2011/5/11 3:11:00 Author:Nicole | Keyword: DONGFENG Citroen Elysee, car charge, starter system
View full Circuit Diagram | Comments | Reading(608)
Published:2011/5/11 3:08:00 Author:Nicole | Keyword: DONGFENG Citroen Elysee, electronic fuel injection engine,
View full Circuit Diagram | Comments | Reading(1927)
Published:2011/5/11 3:06:00 Author:Nicole | Keyword: DONGFENG Citroen Elysee, electronic fuel injection engine, exterior illumination


The exterior illumination and signal equipment circuit diagram of DONGFENG Citroen Elysee MP5.2 electronic fuel injection engine
(View)
View full Circuit Diagram | Comments | Reading(1388)
Published:2011/5/11 1:53:00 Author:Nicole | Keyword: DONGFENG Citroen Elysee, electronic fuel injection engine, internal lighting
View full Circuit Diagram | Comments | Reading(713)
| Pages:90/164 At 2081828384858687888990919293949596979899100Under 20 |