Position: Home > Circuit Diagram > Index 1660
Low Cost Custom Prototype PCB Manufacturer

Circuit Diagram

Index 1660

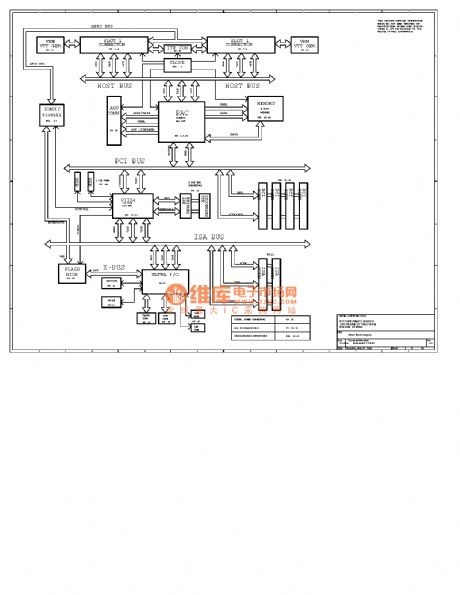
Computer Mainboard Circuit 440LX_04

Published:2011/6/24 4:04:00 Author:zj | Keyword: Computer Mainboard, 440LX_03

Computer Mainboard Circuit 440LX_04
  (View)

View full Circuit Diagram | Comments | Reading(524)

Computer Mainboard Circuit 440LX_03

Published:2011/6/24 4:05:00 Author:zj | Keyword: Computer Mainboard, 440LX_03

Computer Mainboard Circuit 440LX_03
  (View)

View full Circuit Diagram | Comments | Reading(522)

Computer Mainboard Circuit 440LX_02

Published:2011/6/24 4:06:00 Author:zj | Keyword: Computer Mainboard, 440LX_02

Computer Mainboard Circuit 440LX_02
  (View)

View full Circuit Diagram | Comments | Reading(523)

Motor Phase Failure Protector (2)

Published:2011/6/28 6:46:00 Author:Sue | Keyword: Motor, Phase Failure, Protector

Motor Phase Failure Protector (2)
When S2 is pushed, K is connected. When S2 is released, M keeps working. When phase L1,L2 fail, TA will generate signal voltage and makes V1 connected. V3 is disconnected. K is released. KM is released. M's working power is cut off. When phase L3 fails, TA has no voltage and V3 V2 are disconnected. M stops working.   (View)

View full Circuit Diagram | Comments | Reading(823)

Computer Mainboard Circuit 440LX_01

Published:2011/6/24 4:07:00 Author:zj | Keyword: Computer Mainboard, 440LX_01

Computer Mainboard Circuit 440LX_01
  (View)

View full Circuit Diagram | Comments | Reading(493)

Computer Mainboard Circuit 440GX_40

Published:2011/6/24 4:08:00 Author:zj | Keyword: Computer Mainboard, 440GX_40

Computer Mainboard Circuit 440GX_40
  (View)

View full Circuit Diagram | Comments | Reading(497)

Computer Mainboard Circuit 440GX_39

Published:2011/6/24 4:13:00 Author:zj | Keyword: Computer Mainboard, 440GX_39

Computer Mainboard Circuit 440GX_39
  (View)

View full Circuit Diagram | Comments | Reading(520)

Computer Mainboard Circuit 440GX_37

Published:2011/6/24 4:19:00 Author:zj | Keyword: Computer Mainboard, 440GX_37

Computer Mainboard Circuit 440GX_37
  (View)

View full Circuit Diagram | Comments | Reading(516)

Computer Mainboard Circuit 440LX_32

Published:2011/6/24 2:26:00 Author: | Keyword: Computer Mainboard, 440LX_32

Computer Mainboard Circuit 440LX_32
  (View)

View full Circuit Diagram | Comments | Reading(1008)

Computer Mainboard Circuit 440LX_33

Published:2011/6/24 2:25:00 Author: | Keyword: Computer Mainboard, 440LX_33

Computer Mainboard Circuit 440LX_33
  (View)

View full Circuit Diagram | Comments | Reading(513)

Computer Mainboard Circuit 440LX_34

Published:2011/6/24 2:22:00 Author: | Keyword: Computer Mainboard, 440LX_34

Computer Mainboard Circuit 440LX_34
  (View)

View full Circuit Diagram | Comments | Reading(523)

Computer Mainboard Circuit 440LX_35

Published:2011/6/24 2:21:00 Author: | Keyword: Computer Mainboard, 440LX_35

Computer Mainboard Circuit 440LX_35
  (View)

View full Circuit Diagram | Comments | Reading(529)

Computer Mainboard Circuit 440LX_36

Published:2011/6/24 2:13:00 Author: | Keyword: Computer Mainboard, 440LX_36

Computer Mainboard Circuit 440LX_36
  (View)

View full Circuit Diagram | Comments | Reading(530)

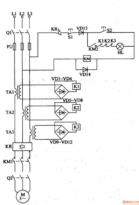
Motor Phase Failure Protector (1)

Published:2011/6/28 6:40:00 Author:Sue | Keyword: Motor, Phase Failure, Protector

Motor Phase Failure Protector (1)
When Q1 is connected and S2 is pushed, KM begins to work. KM KM2 are connected. If Q2 is connected, M will begin to work. When M begins to work, TA1-TA3 will generate 6V voltage. K1-K3 begin to work and K1-K3 are connected. When S2 is released, KM remains connected. HL is illuminated and the motor keeps working. When there is phase failure, KM is disconnected and M's power is cut off.   (View)

View full Circuit Diagram | Comments | Reading(521)

Computer Mainboard Circuit 440LX2_01

Published:2011/6/24 2:12:00 Author: | Keyword: Computer Mainboard, 440LX2_01

Computer Mainboard Circuit 440LX2_01
Computer Mainboard Circuit 440LX2_01

  (View)

View full Circuit Diagram | Comments | Reading(532)

Computer Mainboard Circuit 440LX2_02

Published:2011/6/24 2:11:00 Author: | Keyword: Computer Mainboard, 440LX2_02

Computer Mainboard Circuit 440LX2_02
  (View)

View full Circuit Diagram | Comments | Reading(523)

Computer Mainboard Circuit 440LX2_03

Published:2011/6/24 2:09:00 Author: | Keyword: Computer Mainboard, 440LX2_03

Computer Mainboard Circuit 440LX2_03
  (View)

View full Circuit Diagram | Comments | Reading(493)

Computer Mainboard Circuit 440LX2_04

Published:2011/6/24 2:08:00 Author: | Keyword: Computer Mainboard, 440LX2_04

Computer Mainboard Circuit 440LX2_04
  (View)

View full Circuit Diagram | Comments | Reading(483)

Computer Mainboard Circuit 440LX2_05

Published:2011/6/24 2:07:00 Author: | Keyword: Computer Mainboard, 440LX2_05

Computer Mainboard Circuit 440LX2_05
  (View)

View full Circuit Diagram | Comments | Reading(529)

Computer Mainboard Circuit 440LX2_06

Published:2011/6/24 2:06:00 Author: | Keyword: Computer Mainboard, 440LX2_06

Computer Mainboard Circuit 440LX2_06
  (View)

View full Circuit Diagram | Comments | Reading(562)

Pages:1660/2234 At 2016411642164316441645164616471648164916501651165216531654165516561657165816591660Under 20