Position: Home > Circuit Diagram > Index 1557
Low Cost Custom Prototype PCB Manufacturer

Circuit Diagram

Index 1557

SG3525 DC Motor Driver Circuit

Published:2011/6/14 13:14:00 Author:Michel | Keyword: DC, Motor Driver Circuit

SG3525 DC Motor Driver Circuit
The picture is an accurate circuit which uses SG3525 ideal control DC motor.And illuminance,small heater's application circuits are changed into series of pulses.This circuit also can prevent overload, short-circuit and PWM (pulse width modulation) can be regualted among 0-100% and PWM frequency can be adjusted among 100Hz- 5KHZ.Work voltage range is +8 V-35V and minimum current consumption is about 35 mA.Maximum current can reach 6.5 A. Three potentiometers' functions as follows.VR1 determines minimum output voltage.VR3 sets maximum output voltage.VR2 sets output frequency. Picture:SG3525 PWM DC Motor Controller Circuit   (View)

View full Circuit Diagram | Comments | Reading(13773)

Simplified Infrared Remote Control Receiving Circuit by Using Monolithic IC

Published:2011/6/14 13:13:00 Author:Michel | Keyword: Monolithic IC, Infrared Remote Control, Receiving Circuit

Simplified Infrared Remote Control Receiving Circuit by Using Monolithic IC
Circuit's Functions Infrared remote control is widely used in audio and video equipments.This circuit adopts LA7224 and it intergrates the preamplifier,peak keeping circuit, integral circuit etc. in a chip and these devices are used receive signal,which simplfies the circuit. Circuit's Work Principle It removes silicon light diode to receive infrared radiation via current.Because the signal is very weak,60DB need be amplified.To improve S/N,the carrier wave is taken out by usingresonant tank composed of L1 and C2 and it keeps the peak via limiting circuit. C4 is integral capacitance, according to manufacturer requirements, capacity chooses 0.0047 UF.   (View)

View full Circuit Diagram | Comments | Reading(589)

Electric Bridge Transducer Driver or Amplification Circuit of Constant Current Drive

Published:2011/6/14 13:13:00 Author:Michel | Keyword: Constant Current Drive, Electric Bridge Driver, Amplification Circuit

Electric Bridge Transducer Driver or Amplification Circuit of Constant Current Drive
Circuit's Functions It's common that the strain gauge, magnetic resistance components, semiconductor pressure sensor etc. work in bridge way.This circuit uses MA constant current to unbalance the sensor and uses amplifier to receive.Sensor adopts diffused pressur sensor P-3000S-102G and its voltage range is 0~1KG/CM2. Circuit's Work Principle OP amplifier A1 is constant current output circuit and the magnitude of the current is determined by reference voltage,VZ and sensing resistance.This circuit uses the maximum magnitude of the variable voltage or the OP amplifier output gets saturated,which makes the circuit unstable.   (View)

View full Circuit Diagram | Comments | Reading(955)

Ungoverned Quartz Crystal Oscillating Circuit without Inductance L

Published:2011/6/14 21:20:00 Author:Michel | Keyword: Ungoverned Quartz Crystal, Oscillating Circuit

Ungoverned Quartz Crystal Oscillating Circuit without Inductance L
Circuit's Functions If the transistor's collector load adopts LC resonance loop and the oscillation frequency of Pierce C - B or Boer, B - E circuit must attuned a little deflective to make the oscillation stable.This oscillating circuit can be used if there is no inductance L. Circuit's Work Principle If quartz resonator is used as inductance L,it can be used as deformation carat diop oscillating circuit.Capacitor C2 and C3 feedback posistively and the frequency is low and electric capacity is large. The oscillation frequency reaches 5~20MHZ when capacity is 100PF and a proper capacity can be chosen according to requirements.   (View)

View full Circuit Diagram | Comments | Reading(621)

MC68HC5Pl-Communication single-chip microcomputer integrated circuit diagram

Published:2011/7/10 2:44:00 Author:leo | Keyword: Communication, single-chip

MC68HC5Pl-Communication single-chip microcomputer integrated circuit diagram
MC68HC5PI is a kind of communication single-chip microcomputer integrated circuit made by Motorola which can be applied in wireless telephone and is used as control chip in cell phone. 1.Function Feature:The integrated circuit MC68HC5PI is a type of chip which uses CMOSCPU as the core chip and has 16-bit input capturing and output comparing timers, serial peripheral interface, serial communication interface, 416OKB ROM, 24 double action I/O and can carry out the function of generating dual-tone multifrequency signals, coding data signals and pulsing dialing signals that that can be used to memory code information and so on. 2.Pin Function and dataMC68HC5PI is always used together with MC68HCO5C4(MC68HCO54P) as a microcomputer of the cell phone. All pins function and data of the integrated circuit are shown in the picture bellow.   (View)

View full Circuit Diagram | Comments | Reading(555)

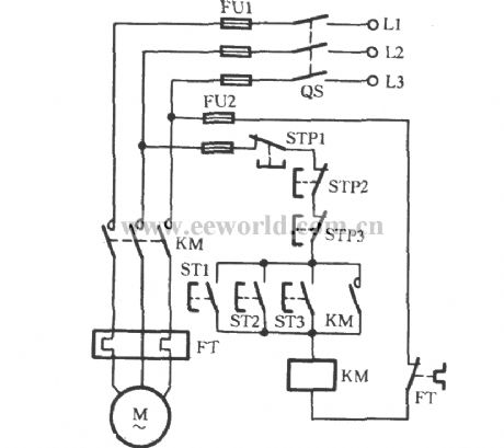
Controlling a motor in three places

Published:2011/7/10 22:21:00 Author:Lucas | Keyword: Controlling motor , in three places

Controlling a motor in three places
It is often referred as multi-point control in two or more than two locations to control of a motor (action). The circuit shown as the chart can realize controlling a motor in three locations. In the figure, ST is the start button, and STP is stop button. ST1, STP2 are the control buttons in the first place; ST2, STP2 are the control buttons in the second place; ST3, STP3 are the control buttons in the third place. The circuit connecting tips for realizing multi-point control: start buttons are connected in parallel, and stop buttons are connected in series.   (View)

View full Circuit Diagram | Comments | Reading(632)

MPI System Launching Circuit One of Soueast Lioncel

Published:2011/7/8 21:46:00 Author:Michel | Keyword: Soueast Lioncel, MPI System Launching, Circuit One

MPI System Launching Circuit One of Soueast Lioncel
MPI System Launching Circuit of Soueast Lioncel   (View)

View full Circuit Diagram | Comments | Reading(628)

MPI System Launching Circuit Two of Soueast Lioncel

Published:2011/7/8 21:48:00 Author:Michel | Keyword: Soueast Lioncel, MPI System Launching, Circuit Two

MPI System Launching Circuit Two of Soueast Lioncel
MPI System Launching Circuit of Soueast Lioncel   (View)

View full Circuit Diagram | Comments | Reading(513)

MPI System Launching Circuit Three of Soueast Lioncel

Published:2011/7/8 21:47:00 Author:Michel | Keyword: Soueast Lioncel, MPI System Launching, Circuit Three

MPI System Launching Circuit Three of Soueast Lioncel
MPI System Launching Circuit of Soueast Lioncel   (View)

View full Circuit Diagram | Comments | Reading(599)

MPI System Launching Circuit Four of Soueast Lioncel

Published:2011/7/8 21:46:00 Author:Michel | Keyword: Soueast Lioncel, MPI System Launching, Circuit Four

MPI System Launching Circuit Four of Soueast Lioncel
MPI System Launching Circuit of Soueast Lioncel   (View)

View full Circuit Diagram | Comments | Reading(658)

MPI System Launching Circuit Five of Soueast Lioncel

Published:2011/7/8 21:45:00 Author:Michel | Keyword: Soueast Lioncel, MPI System Launching, Circuit Five

MPI System Launching Circuit Five of Soueast Lioncel
MPI System Launching Circuit of Soueast Lioncel   (View)

View full Circuit Diagram | Comments | Reading(704)

MPI System Launching Circuit Six of Soueast Lioncel

Published:2011/7/8 21:35:00 Author:Michel | Keyword: Soueast Lioncel , MPI System Launching, Circuit Six

MPI System Launching Circuit Six of Soueast Lioncel
MPI System Launching Circuit of Soueast Lioncel   (View)

View full Circuit Diagram | Comments | Reading(638)

MPI System Launching Circuit Seven of Soueast Lioncel

Published:2011/7/8 21:36:00 Author:Michel | Keyword: Soueast Lioncel, MPI System Launching, Circuit Seven

MPI System Launching Circuit Seven of Soueast Lioncel
MPI System Launching Circuit of Soueast Lioncel   (View)

View full Circuit Diagram | Comments | Reading(672)

MPI System Launching Circuit Eight of Soueast Lioncel

Published:2011/7/8 21:37:00 Author:Michel | Keyword: Soueast Lioncel, MPI System Launching, Circuit Eight

MPI System Launching Circuit Eight of Soueast Lioncel
MPI System Launching Circuit of Soueast Lioncel   (View)

View full Circuit Diagram | Comments | Reading(662)

Engine Cooling System Circuit of Soueast Lioncel

Published:2011/7/8 21:39:00 Author:Michel | Keyword: Soueast Lioncel, Engine Cooling System, Circuit

Engine Cooling System  Circuit of Soueast Lioncel
Engine Cooling System Circuit of Soueast Lioncel   (View)

View full Circuit Diagram | Comments | Reading(634)

Engine Ignition System Circuit of Soueast Lioncel

Published:2011/7/8 21:38:00 Author:Michel | Keyword: Soueast Lioncel, Engine Ignition System, Circuit

Engine Ignition System  Circuit of Soueast Lioncel
Engine Ignition System Circuit of Soueast Lioncel   (View)

View full Circuit Diagram | Comments | Reading(687)

Three-phase motor contactor interlock action for switching circuit

Published:2011/7/10 22:26:00 Author:Lucas | Keyword: Three-phase motor, contactor interlock

Three-phase motor contactor interlock action for switching circuit
The circuit which uses contactor interlock for switching is shown. The STF and STR respectively refer to positive and reverse button. SB and SB2 are respectively positive and reverse jog buttons. And SB1 and SB2 are respectively equipped with a composite button. The dashed line in the figure indicates that the two contacts are the same button. For example, when the button SB1 is pressed, the motor would jog to run with the broken of the normally closed contacts.   (View)

View full Circuit Diagram | Comments | Reading(3945)

Automatic Transmission Circuit Four of Soueast Lioncel

Published:2011/7/8 21:43:00 Author:Michel | Keyword: Lingshuai Cars, Automatic Transmission, Circuit Four

Automatic Transmission Circuit Four of Soueast Lioncel
Automatic Transmission Circuit of Soueast Lioncel   (View)

View full Circuit Diagram | Comments | Reading(738)

Automatic Transmission Circuit Three of Soueast Lioncel

Published:2011/7/8 21:41:00 Author:Michel | Keyword: Soueast Lioncel, Automatic Transmission, Circuit Three

Automatic Transmission Circuit Three of Soueast Lioncel
Automatic Transmission Circuit of Soueast Lioncel   (View)

View full Circuit Diagram | Comments | Reading(712)

Automatic Transmission Circuit Five of Soueast Lioncel

Published:2011/7/8 21:43:00 Author:Michel | Keyword: Soueast Lioncel, Automatic Transmission, Circuit Five

Automatic Transmission Circuit Five of Soueast Lioncel
Automatic Transmission Circuit of Soueast Lioncel   (View)

View full Circuit Diagram | Comments | Reading(487)

Pages:1557/2234 At 2015411542154315441545154615471548154915501551155215531554155515561557155815591560Under 20