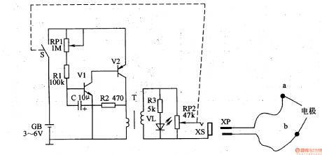
Published:2011/7/29 4:30:00 Author:Felicity | Keyword: Electrical Pulse, Therapeutic Apparatus


Work of the circuit
The circuit consists of power circuit and the high-voltage generator circuit. (It is showed in the picture 9-1.)
High-voltage generator circuit is oscillator circuit. The circuit consists of Transistor V, pulse transformers m and related peripheral components. The Oscillation frequency is from 20HZ to dozens Hz.
Change the value of RP1 to change the working frequency of the instrument.
Change the value of RP2 to change the Output pulse amplitude as well as the intensity of electrical pulse. (View)
View full Circuit Diagram | Comments | Reading(835)
Published:2011/8/10 19:08:00 Author:leo | Keyword: No transformer, constant voltage, power resources
As the picture shows, these are two different constant voltage power resources formed by LR6. LR6 is a kind of high input voltage and low output voltage linear AVR without transformer. It has many kinds of packages, such as TO-92,TO-220,TO-243,DIP8 and so on. Its output voltage is 10 V and output current is 3 mA. Picture (a) is power resources circuit and picture (b) is the extending current circuit. R1+R2=250k (changing the value of R1 and R2 can cause the change of the voltage from 10 V to 12 V).
(View)
View full Circuit Diagram | Comments | Reading(1739)
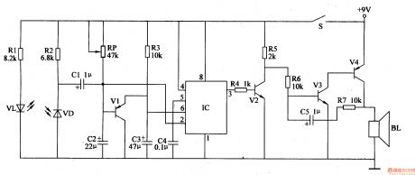
Published:2011/7/29 4:30:00 Author:Felicity | Keyword: Electrical Pulse, Therapeutic Apparatus
Work of the circuit
The circuit consists of power switch S, transistors Vl and V2, resistors Rl-R3, light-emitting diode VL, potentiometer RPl and RP2, capacitor C, the output jack XS and pulse transformer T. (It is showed in the picture 9-2.)
When the pulse therapeutic apparatus is working, the shining frequency of VL is same with the frequency of low-frequency oscillator.
Change the value of RP1 to change the frequency of low-frequency oscillator.
Change the value of RP2 to change the intensity of electrical pulse. (View)
View full Circuit Diagram | Comments | Reading(826)
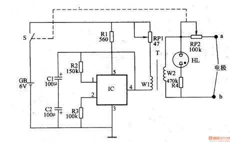
Published:2011/7/29 4:30:00 Author:Felicity | Keyword: Electrical Pulse, Therapeutic Apparatus
Work of the circuit
The circuit consists of intermittent oscillator and pulse voltage output circuit. (It is showed in the picture 9-3.)
Intermittent oscillator consists of electronic switch IC, resistors Rl-R3, capacitor Cl and C2, potentiometer RPl and winding Wl of pulse transformer T.
Pulse voltage output circuit consists of T’s winding W2, potentiometer RP2, resistors R4, HL and neon indicator tube electrodes a, b.
Change the value of RP1 to change the intensity of the pulse frequency.
Change the value of RP2 to change the magnitude of the output pulse voltage. (View)
View full Circuit Diagram | Comments | Reading(846)
Published:2011/7/29 4:29:00 Author:Felicity | Keyword: Electrical Pulse Therapeutic Apparatus
Work of the circuit
The circuit consists of oscillator, electrical pulse generator and power supply circuit. (It is showed in the picture 9-7.)
The OSC circuit consits of time-baseintegrated circuit IC,resistorsRl, R2,potentiometersRPl, RRobinsonandcapacitor Cl, C2.
Electrical pulse generator consists of resistors R3-R5, transistor Vl, V2, pulse transformer T, the capacitor C4, diode VD, potentiometer RP3 and electrodes a, b.
Power supply circuit consists of Power switch S, batteries GB, current limiting resistor R6, light-emitting diode VL and filter capacitor C3.
Change the value of RP1 and RP2 to change the frequency of the OSC.
Change the vlue of RP3 to chsnge the stimulation of the electrical pulse. (View)
View full Circuit Diagram | Comments | Reading(896)
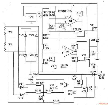
Published:2011/7/29 4:27:00 Author:Felicity | Keyword: Voltage Regulator
Work of the circuit
The circuit consists of voluntary stabilizing circuit and battery charging and protecting circuit. (It is showed in picture 7-142.)
Voluntary stabilizing circuitconsists of diodeVD5, VD6,voltage regulatordiodeVS2, VS3,transistorsVl, V2,resistorsRl-R7,capacitorC2 andthyristorVTl, VT2.
Battery charging and protecting circuit consists of capacitor Cl,diodeVDl-VD4, VD7-VDlO,resistorsR8-RlO,potentiometerRPI, RP2,voltage regulatordiodeVSl,transistorsV3,operational amplifierIC2 (Nl, N2,three-terminalvoltage regulatorintegrated circuitICland field-effecttransistorVF1, VF2.
When the speed of the motor is 300Or/min and the AC voltage over W2 is not less than 15V, VT1 and VT2 is transmitted. When thespeed of the motor is low, Vm is cut-off. At the same time, VT1 is transmitted or cut-off. This can stabilize the exporting voltage and make sure the light is bright enough.
When the exporting voltage is over 15V, VF1 is cut-off. In this way, the battery is not over-charged. When the exporting voltage is less than 10.5 V, VF2 is cut-off. In this way, the battery is not over-discharged. Change the value of RP1 and RP2 to change the sensitivity of VF1 and VF2. (View)
View full Circuit Diagram | Comments | Reading(790)
Published:2011/8/6 21:39:00 Author:leo | Keyword: Light monitoring buzzer, electric system
View full Circuit Diagram | Comments | Reading(918)
Published:2011/8/10 19:09:00 Author:leo | Keyword: Lamp brightness selector, instrument, Southeast Ling Sheng
View full Circuit Diagram | Comments | Reading(912)
Published:2011/8/10 19:10:00 Author:leo | Keyword: Flashing LED, monitoring voltage, power resource voltage
This circuit uses LM3909 flasher integrated circuit produced by National Company to drive LED for monitoring the voltage of remote power resource. When the resistance of 43kohms is placed in the area of power resources, the voltage of transferring wires, integrated circuit and LED does not pass over more than 7V than ground, the voltage of remote power resource will be tested safely. And the work current should be smaller than 150mA. (View)
View full Circuit Diagram | Comments | Reading(963)
Published:2011/7/29 4:39:00 Author:Borg | Keyword: projectile lamp, voltage stabilization circuit
When the AC input voltage changes within 105~250v, the effective voltage on the bulb keeps at 100±2V. Behind the mirror of the 150W projectile lamp, there is a black light leakage tube. The red light emitted by the lamp reaches the LDR through the tube. The resistance change of the LDR is fed back to the igniting circuit Q1-Q2, which controls the conducting angle of the SCR Q3. The coverage of the mirror is big, so it can feel the light change caused by the 60Hz DC light regulation.
(View)
View full Circuit Diagram | Comments | Reading(772)
Published:2011/7/29 4:37:00 Author:Borg | Keyword: high power, regulated inverter circuit


The 400W high power regulated inverter circuit is composed of TL494, whose self-motivation part is TL494,the VT1,VT2,VD3 and VD4 compose the current drive circuit, there are 2 60V/30A MOSFET switch tubes on either drive circuit. If the power needs to be raised ahead, each of the 2 lines can install parallel 3-4 switch tubes and the circuit doesn't change. The usage of TL494 is shown as follows:
(View)
View full Circuit Diagram | Comments | Reading(3350)
Published:2011/7/29 4:37:00 Author:Borg | Keyword: power switch, control circuit
The circuit is fixed with 50 parallel BUZ23 FET transistors, the blocking voltage of the tube is 100V. The needed control power is very low, and there aren't any phenomenon of twice breakdown or conducting area forward temperature coefficient. As the current of the whole current is very high, so the 50 gate resistors and elements are connected in parallel method. To release the energy in the wire inductors of the loading circuit, an attraction circuit composed of 20 parallel RC elements is connected between the leakage-source pole. (View)
View full Circuit Diagram | Comments | Reading(968)
Published:2011/7/29 4:38:00 Author:Borg | Keyword: peak value, detection circuit
This is the peak value detection circuit composed of μA741. In all kinds of tests on the physical quantities converting into electric quantities with the sensor, the peak values should be tested when processing waveforms. In figure 8-1 is the peak value detecting circuit, whose detected negative/positive values are ±5V, the peak values are output by A4 and A5. The maintenance time of the circuit is decided by capacitor C1(C2), diode, VT1(VT2) grid and leakage current. The smaller these elements are, the longer the time will be.
(View)
View full Circuit Diagram | Comments | Reading(1401)
Published:2011/7/29 4:36:00 Author:Borg | Keyword: FM circuit
This is the 800MHZ FM circuit. The circuit changes frequencies by changing the capacitance between the poles, which is done by changing the basic bias of the oscillating transistor with the modulation signal, and the signal can be received by the receiving circuit of the radios, the transmitting range is between 50 and 100m. To get a larger frequency drift, the volumes of C4 and C5 should be small. The inductance of L1 would better be 0.3μH or so, as TV1 is easily affected by the pole capacitance and the parasitic capacitance, so the coil should be hollow, and the tightness of the wire is regulated meanwhile so that the best inductance can be got.
(View)
View full Circuit Diagram | Comments | Reading(862)
Published:2011/7/29 4:37:00 Author:Felicity | Keyword: Engine Water Supply Alarm


Work of the circuit
The circuit consists of water level sensor, the transistor V, resistors Rl, R2, water indication light pole tube VL, capacitors Cl, C2, integrated circuit IC and piezoelectric buzzer HA. (It is showed in picture 7-105.)
When the water level is higher than the low setting water level, VL is off and HA is noiseless
When the water level is lower than the low setting water level, the electrode of water level sensor is above water , then V is saturated and on, the high level voltage output by the emitter pole trigger VL on and also make IC at work ,then HA send out alarm.
In case of waving of the water level while driving that cause false alarm, a time delay capacitor C1 is added to the circuit . While the waving water level cause the electrode above the water instantaneously , +12 V voltage will charge C1 through R1. And because the voltage of C1 cann’t change suddenly, V cann’t be on in a sudden and there will be no false alarm. (View)
View full Circuit Diagram | Comments | Reading(1530)
Published:2011/7/29 4:44:00 Author:Felicity | Keyword: Anti-theft Alarm, Motorcycle
Work of the circuit
The circuit consists of trigger circuit, alarm control circuit and the reset the alarm circuit. (It is showed in picture 7-84.)
Trigger circuit consists of Mercury switches Sl, resistor cell, transistors Vl and relay Kl.
Alarm control circuit consists of the relay contacts Kl Kl-l, Kl-2, transistor V2, resistors R3 and Rl and alarm speaker BLl.
The reset the alarm circuit consists of transistors V3 and V4, the diode VD2-VD4 and relay K2.
Usually, the mercury switch S1 is off and the circuit stands by.
As soon as the theft upright the motor, the mercury switch S1 turns on to make V1 and K1 on. On one hand the normally open contact of K1-1 closes to ensure that V1 is on, on the other hand the normally close contact of K1-2 releases, and the normally open contact closes to make V2 on and BL sends out alarm, and the non-grounding terminal of the high voltage ignition coil T is connected to ground through the normally open contact of K1-2 and the motorcycle cannot start.
When the motorcycle key is plugged in and step on the brake for a while, V3 will in the on-state and the alarm will be discharged. (View)
View full Circuit Diagram | Comments | Reading(1537)
Published:2011/8/3 22:12:00 Author:Borg | Keyword: direction judging circuit, heat releasing electric sensors
This is the organism moving direction judging circuit composed of heat releasing electric sensors. In the circuit, the heat releasing electric sensors are IRA-F0OlSX (sensor 1 and sensor 2). A1 and A2(A3 and A4) are the 2-stage amplifiers, VTI and NE555(1)(VT2 and NE555(2)) are the waveform processors, which compose the signal processing circuit. Gl一G6 are the direction judging circuitS. NE555(1) and NE555(2) are required to have the unanimous working time, therefore, they need to be adjusted by potentiometer RP1.
The principle of the circuit is shown as follows: if the object moves from sensor 1 to sensor 2, the output pulse of A and B is shown as figure 3-24(b).
(View)
View full Circuit Diagram | Comments | Reading(732)
Published:2011/7/27 6:42:00 Author:Felicity | Keyword: Automotive Fuel Monitor


The circuit consists of fuel level monitoring circuit and alarm circuit. (It is showed in picture 7-61.)
Fuel level monitoring circuit consists of ignition switch S1, gasoline-type table and float sensor potentiometer.
Alarm circuit consists of alarm HA, LED HL, resistors Rl-R3, transistor Vl, V2, switch S2 and the relay K.
This monitor can warn the driver to refuel while the car is going to run out of fuel.
This automotive fuel monitor circuit consists of oil level detect circuit and alarm circuit ,as showed in the figure above.
When the oil level is higher than the lowest level , the float sensor in the high impedance state,and V1 and V2 both cut off, HA is noiseless and HL is off.
When the fuel is little and the oil lever is below the loweset level, the resistance of the float sesor drops to make V1 and V2 on. And K turns on, and the normally open contact of K closes; HA sends out alarm and HL lights up. (View)
View full Circuit Diagram | Comments | Reading(1539)
Published:2011/8/6 8:45:00 Author:Felicity | Keyword: Seeder, Dry Channel Blockage, Alarm
Work of the circuit
The circuit consists of infra-red detection circuit, trigger control circuit and sound alarm circuit. (It is showed in picture 4-100.)
Infra-red detection circuit consists of infrared light-emitting diode VL, infrared photodiode VD and resistors Rl, R2.
Trigger control circuit consists of transistor Vl, potentiometer RP, resistor R3, capacitor C2-C4 relative to time-base IC lC.
Sound alarm circuit consists of resistors R4-R7, transistor V2-V4, capacitor C5 and the speaker BL. (View)
View full Circuit Diagram | Comments | Reading(668)
Published:2011/8/1 20:54:00 Author:Lucas | Keyword: 74 Series , digital circuit, 8-8 line priority encoder
View full Circuit Diagram | Comments | Reading(1955)
| Pages:579/2234 At 20561562563564565566567568569570571572573574575576577578579580Under 20 |