Published:2011/5/12 7:35:00 Author:Borg | Keyword: warm wind, steering, warning signal
Figure 3 the warm wind, steering and warning signal circuit of Volga 3102
3-front(left, right) steering lamp; 22-heating indicator; 25-steering indicator; 39-steering lamp switch; 40-hazard warning switch; 41-rear window heating switch; 47-rear(left, right) steering lamp; 50-backup lamp; 54-warmair motor; 55-warm air blower; 56-rear window heater; 64-fuse(left, right); 68-backup lamp switch. (View)
View full Circuit Diagram | Comments | Reading(577)
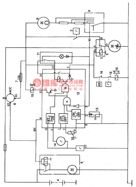
Published:2011/5/12 9:49:00 Author:Borg | Keyword: instrument indicator, wiper/washer indicator, Volga
Figure 2 The instrument indicator and wiper/washer indicator circuit of Volga 3102
8-wiper motor; 9-wiper switch;10-washer motor;15-water temperature sensor; 16-engine overheat warning switch; 17-oil sensor; 18-defective oil-pressure alarm switch; 19-brake failure switch;20-wiper interval relay; 27-water thermometer; 29-engine overheat indicator; 30-hand brake indicator; 31-stand-by indicator; 31a-shared alarm lamp; 32-brake failure indicator; 33-low oil pressure warning indicator; 34-oil pressure instrument; 35-short petrol indicator (View)
View full Circuit Diagram | Comments | Reading(1311)
Published:2011/5/12 0:57:00 Author:Borg | Keyword: Intergrated Circuit, Sound Signal, Busy Noise



HA16830F is a specialized intergrated circuit produced by Hitachi, Japan, which can test and rectify busy noise of 400HZ and test conversationa sounds.
1.function features
HA16830 fulfills functions of testing the answering phone terminals, whose working voltage ranges 4.5-6.6V, typical working voltage is 5V.
2.pin functions and data
HA16830 is packaged in FP-2ON.
3.typical application circuit
HA16830F is a partial circuit of intelligent emegency calling systems, which is used by homes, the core of it is to test all the indoor sensors in turn and control them by using PICl6C55.
(View)
View full Circuit Diagram | Comments | Reading(667)
Published:2011/5/11 22:17:00 Author:Borg | Keyword: Microcomputer, Intergrated Circuit, Single Door


HD44808a04 is a microcomputer intergrated circuit of communication single doors, which is widely used in all kinds of phones.
1.function features
HD44808A04 contains sub-circuits of pulse/two-tone coupling with dialing, key switch signal encoding, signal encoding of phone electrical lock, clock frequency and other application circuits.
2. pin functions and data
HD4480A04 is encapsulated in dual in-line package with 42-lead, whose pin functions and data are listed in Table-1.
(View)
View full Circuit Diagram | Comments | Reading(504)
Published:2011/5/11 22:19:00 Author:Borg | Keyword: Electricapparatus, AUTOART, Air-conditioning Systems
(8) radio
TheAM ranges from 51OkHz to 1630KHZ (SHW), sensitivity is less than 32dB; wave frequency of stereo ranges from FM87.5MHZ to 108MHZ, and its sensitivity is less than 15dB; the speed of cassette is 4.75cm/s±3%, Wow and Flutter is less than 0.3% ( WTD.OMS), crosstalk is 30 dB, S/N is 40 dB.
(View)
View full Circuit Diagram | Comments | Reading(519)
Published:2011/5/11 7:33:00 Author:Borg | Keyword: Air-conditioning Circuit, AUTOART
(9)electrical loudspeaker
Voltage:12v, current:3A, sound pressure:10±5dB, basic frequency: 350±20Hz。
(View)
View full Circuit Diagram | Comments | Reading(531)
Published:2011/5/11 8:06:00 Author:Borg | Keyword: Wiring Circuit, ALTO
2. the function table of ALTO air-conditioners(as shown in Figure 7)
(7) wiper/washer
The wiper arms are driven by series permanent-magnet motors through cavex worm gear units, low speed: 45-57 times/min; high speed:67-81 times/min, and the washer pumps are permanent-magnet motors, the volumn of cleaning solvent is IL, the flow of spigots is 100ml/s.
(View)
View full Circuit Diagram | Comments | Reading(605)
Published:2011/5/11 8:36:00 Author:Christina | Keyword: patient, medication reminder
View full Circuit Diagram | Comments | Reading(810)
Published:2011/5/11 7:36:00 Author:Christina | Keyword: Magnetic therapy, blood pressure, lowering shoes
View full Circuit Diagram | Comments | Reading(1617)
Published:2011/5/8 6:47:00 Author:TaoXi | Keyword: video, small signal processing, monolithic


The TB1251N is designed as one kind of video small signal processing monolithic integrated circuit that is produced by the TOSHIBA company, and it can be used in the various types of domestic and imported color TV such as the Changhong CN-15 movement series large screen color TV.
1.Features
The TB1251N has the image and sound amplifier circuit, the color demodulation circuit, the luminance signal processing circuit, the line scanning and field scanning small signal processing circuit, the I2C bus interface circuit, the VCO circuit, the high voltage test and protection circuit and other circuits.
2.Pin functions and data
The TB1251N is in the 56-pin package, the pin functions and data of this circuit is as shown in table 1.
Table 1 The pin functions and data of the TB1251N (View)
View full Circuit Diagram | Comments | Reading(558)
Published:2011/5/8 6:49:00 Author:TaoXi | Keyword: op amp, BBE, processor


The BBE high resolution sound processor outputs the high, medium and low frequency signals of the signal source through the high-pass filter, band-pass filter, low-pass filter, and respectively controls the gain then mixes them to highlight the high, medium and low frequency signals' content information, so this processor achieves the effects of extending the frequency response and clarity. The op amp type BBE processor circuit is as shown. The input signal is amplified by IC1-1, then part of the high frequency input signal is intercepted by the high-pass filter, part of the low frequency input signal is intercepted by the low-pass filter, the intercepted high & low frequency signals are amplified by the IC2-2, IC2-1 and then they mix with the unprocessed signal in the adder to enhance the high and low frequency signals and beautify the sound.
The component values of this circuit is as shown in this table.
(View)
View full Circuit Diagram | Comments | Reading(4323)
Published:2011/5/11 2:22:00 Author:Christina | Keyword: Littleswan, washing machine, principle circuit


The Littleswan XPB30-5 washing machine principle circuit is as shown:
(View)
View full Circuit Diagram | Comments | Reading(2427)
Published:2011/5/9 3:49:00 Author:Christina | Keyword: Litleswan, washing machine, principle circuit


The Litleswan XQB50-801 washing machine principle circuit is as shown:
(View)
View full Circuit Diagram | Comments | Reading(1067)
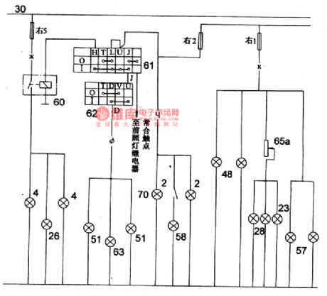
Published:2011/5/10 8:48:00 Author:Borg | Keyword: Fog Lamp, Width Lamp, Instrument Lamp
As shown in figure 5 is the fog lamp,width lamp and instrument lamp circuit of Volga 3102
2-left(front,rear)width; 4-front(left,right)width; 23-speedmeter indicator; 26-fog lamp indicator; 28-instrument indicator; 48-right(front,rear)width lamp; 51-rear(left,right) fog lamp; 57-license plate lamp;58-trunk lamp; 60-fog lamp relay; 61-fog lamp switch; 62-rear fog lamp switch; 63-rear fog lamp indicator (View)
View full Circuit Diagram | Comments | Reading(516)
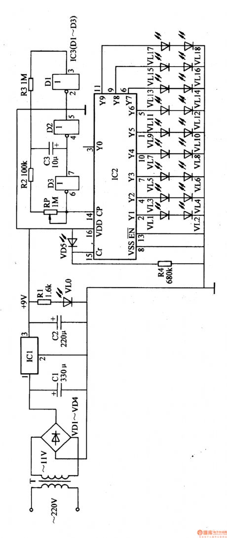
Published:2011/5/10 2:30:00 Author:Sue | Keyword: Optical Controlled, LED, Illuminations
The optical controlled LED illuminations introduced here only works at night, and can be used as home decorations, shop’s ad lights or festival illuminations.
Working Principles:
As seen in the figure 1-168,the circuit consists of power circuit, optical controlled circuits, multivibrator and LED drive control circuit.
Alternating voltage 20Y can generate +9V voltate after works of T,VD1-VD4,C1 and IC1, which can be served as working power of IC2,IC3. Another current illuminates VL0 after being limited by R1.
In the daytime, VD5 is in low resistance state in light, and IC2 can't count because of 15 pin's high level. The YO terminal outputs high level, and Y1-Y9 output low level, so VL1-VL8 all don't illuminate. At night, VD5 is in high resistance state because of lack of light, so 15 pin becomes low level and IC2 begins to count. Multivibrator generates oscillate signals which can serve as IC2's 14 pin counting pulse, make IC2's YO-Y9 output high level one by one, and VL1-VL8 are illuminated one by one, showing the cycling light effect.
When we adjust RP's value, we can change the oscillate frequency of multivibrator, which can change the twinkle effect of the illuminations.
(View)
View full Circuit Diagram | Comments | Reading(735)
Published:2011/5/10 1:59:00 Author:Sue | Keyword: Sound Controlled, LED, Color Variable, Illuminations
Working Principle:
As seen in the figure, the sound controlled LED illuminations circuit consists of audio amplifying circuit, LED drive control circuit.
The audio amplifying circuit consists of BM,V1,V2,R1-R6,C1-C3 and RP.
LED drive control circuit consists of IC1-IC3,VL1-VL10 and R8.
Sensor BM put the audio signals which are amplified by V1,V2 onto IC1's 14 pin(CP terminal) as counting clock pulse. IC1's 3 pin(YO terminal), 2 pin(Y1 terminal) can provide IC2,IC3 with counting signal. Y2 terminal can provide 15 pin (resetting terminal) with resetting signal.
Among IC2,IC3's output terminals(YO-Y9 terminals) there are bicolored illuminated diode VL1-VL10. When IC2 and IC3 output high levels at the same time, the outside illuminated diodes will demonstrate orange color, or it will show red or green color.
As the space limited, the circuit only show VL1 and VL10 without VL2-VL9. And there is only one group of LED demonstrating circuits. When in practise, the numbers of illuminated diodes can be adjusted according to reality.
When we adjust the value of RP, we can change the level output to IC1's 14 pin, which will change the LED effect.
(View)
View full Circuit Diagram | Comments | Reading(1163)
Published:2011/5/10 1:41:00 Author:Sue | Keyword: LED, Illuminations
The LED illuminations introduced here have adjustable twinkle frequency and can make various kinds of lights patterns, and can also be used in toy decorations and gardening.
Working Principle:
As seen in the figure 1-159, the LED illuminations circuit consists of multivibrator A,B and illuminated diodes VL1-VL12.
Multivibrator A consists of resistor R5,R6, potentiometer RP1, capacitor C1,C2 and transistor V1,V2. Multivibrator B consists of resistor R7,R8, potentiometer RP2, capacitor C3,C4 and transistor V3,V4.
When A begins to work, R1,R2 will drive VL1-V to illuminate. When B begins to work, R3,R4 will drive VL5-VL12to illuminate.
When we adjust the values of RP and RP2, we can change the output waveform duty ratios of A and B respectively, so the light effect can be changed. (View)
View full Circuit Diagram | Comments | Reading(646)
Published:2011/5/10 1:31:00 Author:Sue | Keyword: LED, Illuminations
Working Principle:
As seen in the figure1-158, the circuit consists of multivibrator and LED drive control circuit.
The multivibrator circuit consists of potentiometer RP, resistor R1,R2, capacitor C and time base integrated circuit IC1.
LED drive control circuit consists of IC2、Vl-V6、VDl-VD8、R3-R14 and VLl-VL3l.
When power switch S is connected, multivibrator begins to work and provides IC2 with counting pulse signals. By this, IC2's YO-Y9 terminals output high level one by one, and make VL1-VL31 illuminated one by one.
When YO terminal outputs high level, V1 is connected, and VL1 is illuminated.
When Yl and Y9 terminal output high level, V2 is connected, and VL2-VL7 are illuminated.
When Y2 and Y8 terminal output high level, V3 is connected, and VL8-VLl3 are illuminated.
When W and Y6 terminal output high level, V5 is connected, and VL2O-VL25 are illuminated.
When Y5 terminal outputs high level, V6 is connected, and VL26-VL31 are illuminated.
In this circumstances, LED illuminations are illuminated one by one.
When we adjust RP's value, the illumination frequency can be changed. (View)
View full Circuit Diagram | Comments | Reading(601)
Published:2011/5/10 1:18:00 Author:Sue | Keyword: LED, Illuminations
The LED illuminations introduced here can be used to make LED labels, motorcycle's lights and ambulance's signal lights.
Working principle:
As seen in the figure 1-157, the circuit consists of bistable trigger, clock oscillator and LED drive control circuit.
Bistable trigger circuit consists of resistor R1,R2, capacitor C1, switch S2 and four NAND gate Schimitt trigger integrated circuit IC1(D1-D4)'s inside D1,D2.
Clock oscillator consists of D3,C2,R3 and RP.
LED drive control circuit consists of IC2,R4-Rll,Vl-V4,C3 and VLl-VLl2.
When S1 is connected, +12V voltage provides the working power by S1 and VD.
When S2 is disconnected, bistable trigger output low level, and clock oscillator doesn't work, so the LED illuminations cannot show the effects. When S2 is connected, the bistable trigger reverses, and IC1 outputs high level which make oscillator begin to work, providing IC2's 14 pin(CP terminal) with counting pulse, and IC2's YO-Y4 terminal outputs cycling high level.
When YO terminal outputs high level, V1 is connected, VL1-VL3 are illuminated.
When Y1 terminal outputs high level, V2 is connected, VL4-VL6 are illuminated, while VL1-VL3 are put out.
When Y2 terminal outputs high level, V3 is connected, VL7-VL9 are illuminated, while VL4-VL6 are put out.
When Y3 terminal outputs high level, V4 is connected, VL10-VL12 ARE illuminated, while VL7-VL9 are put out.
When Y4 terminal outputs high lever, IC1 is forced to go back, and its YO terminal outputs high level again.
In this circumstances, the four LED illuminations are illuminated one by one and show the rotating effect.
If we adjust the value of RP, we can change the oscillate frequency of the clock oscillator, so the light rotating effect can be changed. (View)
View full Circuit Diagram | Comments | Reading(1049)
Published:2011/5/9 9:08:00 Author:Christina | Keyword: FengHua, fridge circuit
The FengHua brand BYD-220 type fridge circuit is as shown:
(View)
View full Circuit Diagram | Comments | Reading(473)
| Pages:180/195 At 20161162163164165166167168169170171172173174175176177178179180Under 20 |