Published:2011/6/3 8:44:00 Author:nelly | Keyword: static, lower power, dual tone,


Generally, the power consumption is large by taking the bipolar 555 as the doorbell. As shown on the figure 11-15, the circuit's static power is about 250µA before the AN is turned on. Turn on the AN, C2 will be charged by the D2. When the four foot is larger than 1v, the multivibrator which consists of 555 and R2, R3, C4 will be onset. The oscillation frequency is about 1000Hz. Turn off the AN, the oscillation frequency will be lower because the C5 and C4 is parallel connecting. It's about 700Hz, so we call it dual tone (View)
View full Circuit Diagram | Comments | Reading(719)
Published:2011/6/4 6:06:00 Author:nelly | Keyword: Nintendo, timer


As shown on the figure 11-13, the timer consists of relay control circuit and monostable timing circuit which is made up of 555, RP1 and C1. Turning on the AN1, the 555 circuit will be onset because the 2 foot is the ground potential, the 3 foot is high power level, the J is pull-in. The J1-1's contact will be on-state, the game opens and starts together. The timing time: td=1.1RP1C1. The timing time is about 10 minutes. It can use RP1 to change the time.
(View)
View full Circuit Diagram | Comments | Reading(692)
Published:2011/6/3 8:49:00 Author:nelly | Keyword: Unmanned driving, car
As shown in the figure 11-1, the control circuit is composed as the core of two 555, the actable multivibrator is made of IC1 and R1, R2, C1, the oscillation period T1=0.693(R1+2R2)C1; the oscillator consists of IC2 and RP, R4, R5, C4, the oscillation period T2=0.693(RP+R4+2R5)C4, T2=2T1 by adjusting RP. After it is connected to power supply, the small car advances, when it meets an obstacle or IC1, IC2 output low voltage synchronously, the car will drop back; it also has a series of actions such as advance, then make a turn, advance again and drop back after U-turn. (View)
View full Circuit Diagram | Comments | Reading(625)
Published:2011/6/3 21:49:00 Author:Felicity | Keyword: Ward Caller,
When S1 is switched on, the whole appliance is under standby state. And when one of the call buttons 52-55 is pressed, the indicator in the branch is on, and the capacitor is charging, then K turns on and closes, the normally open contact of K switched on, and C5 is charging to keep K closes. The audio oscillator consists of V1, V2, R8 and C7 works to drive BL to send out calling sound. As the charging current of C5 decreases, the voltage of C5 drops too. When the voltage of C6 drops to a certain value, K releases and the audio circuit stops working.
(View)
View full Circuit Diagram | Comments | Reading(569)
Published:2011/6/4 6:45:00 Author:nelly | Keyword: Monitoring, output transformer
As shown on the figure 7-38, the actable multivibrator consists of the 555 and R1,R2,C1. f=1.44/(R1+2R2)C1, the oscillation frequency is about 2kHz. Its output connect the output transformer through the power amplifier. It gets kilovoltage DC voltage by being boosted and high voltage silicon's rectification. If the transformer or the silicon pile's quality is bad, the high voltage can't reach the identifiable voltage.
(View)
View full Circuit Diagram | Comments | Reading(759)
Published:2011/5/19 21:24:00 Author:Felicity | Keyword: Memory Strengthener (the 2nd)
Work of the circuit
The circuit consists of mike BE, three-step amplifier circuit and earphone. (It is showed in picture 9-76.). BM turns the sound signal it collects into electric signal. The signal will be amplified. Then the amplified signal will drive BE to make sound which is louder.
If you change the value of RP you can change the volume. (View)
View full Circuit Diagram | Comments | Reading(530)
Published:2011/6/6 10:08:00 Author:Felicity | Keyword: Electronic Points Probing Instrument (the 1st)
Work of the circuit
The circuit consists of probing poles, transistor V1-V3, resistor R1-R4, potentiometer RP, capacitor C, amplifier BL, diode VD, switch GB and battery GB. (It is showed in picture 9-38.)
Turn on power switch S. let the tester put the poles in their hands. Use the poles to test the relevant parts and body. When the acupoint is not tested, BL makes no sounds. When the acupoint is tested BL screams.
Change the value of RP to change the sensitivity of the circuit.
(View)
View full Circuit Diagram | Comments | Reading(536)
Published:2011/6/6 8:18:00 Author:Felicity | Keyword: Electronic Massager (the 2nd)
Work of the circuit
The circuit consists of AC pressure regulating circuit and rectification circuit. (It is showed in picture 9-35.)
Turn on switch S1. 220V AC separates into 2 parts. One charges C1 after being adjusted. And the other one changes into DC voltage and works as M’s working power. When the voltage of C1 reaches a constant value M starts working. (View)
View full Circuit Diagram | Comments | Reading(690)
Published:2011/6/6 8:10:00 Author:Felicity | Keyword: Pulse Test Set (the 5th)
Work of the circuit
The circuit consists of power circuit, pulse signal testing and amplifying circuit, delaying resetting circuit and digital display circuit. (It is showed in picture 9-52.)
When you do the test, put BM on the position where the pulse is significant. Turn on power switch S1 and press the resetting control button. IC3 is ready to count.
BM turns the pulse signal into electronic signal. The signal then becomes the counting pulse. The pulse drives digital display to work after being adjusted. The number on the display changes with the pulse. The number displayed on the LED digital display is the jumping number of times of pulse per minute. (View)
View full Circuit Diagram | Comments | Reading(878)
Published:2011/6/6 6:36:00 Author:Felicity | Keyword: Drunken Driving Limiter (the 2nd)
Work of the circuit
The circuit consists of the power voltage stabilizing circuit, LED instructing circuit, alcoholic sensitivity alcohol control circuit and control executing circuit. (It is showed in picture 7-161.)
Turn on the igniting switch S. The +12V voltage is adjusted by IC1 and C1 and provides working power to LED instructing circuit and alcoholic sensitivity alcohol control circuit.
If the driver is drunk and wants to turn on S. IC1 tests the sense of alcohol. The electric resistance will become smaller. The power circuit of igniting circuit is cut off. The driver cannot start the car. (View)
View full Circuit Diagram | Comments | Reading(572)
Published:2011/6/6 8:09:00 Author:Felicity | Keyword: Pulse Test Set (the 4th)
Work of the circuit
The circuit consists of pulse signal testing and amplifying circuit and acousto-optic circuit. (It is showed in picture 9-51.)
When you do the test, put BC on the position where the pulse is significant. Turn on power switch S. BC turns pulse signal into weak electronic signal. The electronic signal is amplified and reshaped. Then the signal makes the OSC work. HA makes the sound ‘tick, tick’ and VL shines. (View)
View full Circuit Diagram | Comments | Reading(531)
Published:2011/6/6 8:06:00 Author:Felicity | Keyword: Pulse Test Set (the 2nd)
Work of the circuit
The circuit consists of power circuit, light sensor, reshaping amplifying circuit and acousto-optic circuit. (It is showed in picture 9-49.)
When we do not test the electric resistance is almost the same. HA does not make any sound and VL does not shine.
Put your figure on RG1 and the photopermeability change the electric resistance EG1. Voltage of point A changes slightly with the pulse. The signal is adjusted by amplifying circuit and makes acousto-optic circuit work. HA makes sound with the pulse. VL shines with the pulse. (View)
View full Circuit Diagram | Comments | Reading(523)
Published:2011/6/6 8:05:00 Author:Felicity | Keyword: Pulse Test Set (the 1st)
Work of the circuit
The circuit consists of signal amplifying circuit, OSC and counting indicating circuit. (It is showed in picture 9-48.)
When you use the pulse test set you should use a watch belt to press the sensor on the tester’s wrest (do press it tightly). Turn on the switch S the OSC starts working. The sensor BC turns the pulse jumping signal into electronic signal. The signal then will be amplified. It produces BCD code. BCD code is decoded and drives LED digital display to work. When the OSC works for 1min, the number displayed on the LED digital display is the jumping number of times of pulse. (View)
View full Circuit Diagram | Comments | Reading(751)
Published:2011/5/30 9:23:00 Author:TaoXi | Keyword: 555, ultrasonic wave, fish tank, oxygen device
The oxygen device circuit uses the 555 time base circuit as the core, as the figure 15-48 shows.
The ultrasonic oscillator is composed of the 555 and R1,R2,C1. If you open the power supply, the circuit will start working, the oscillation frequency fc=1.44/(R1+2R2)C1.
The parameters are according to the design of ultrasonic frequency 22.2 kHz. This frequency is three times of the oscillator load HTD's inherent resonance frequency. When the 555 oscillation outputs the low electrical level, the LED has the flashing shine, this means the normal working condition; at the same time it drives the HTD1 and HTD2 to resonate.
The HTD1 and HTD2 are two piezoelectric ceramics, HTD is one kind of piezoelectric effect device.
(View)
View full Circuit Diagram | Comments | Reading(959)
Published:2011/5/30 19:09:00 Author:TaoXi | Keyword: 20-channel, 555, responder
The astable multivibrator is composed of the 555 and R2,C3. When you open the valve switch, this circuit will automatically close the linkage switch K, at this time the photoresistor RG has high resistance, pin-4 has the high electrical level, so if the power supply is connected, the circuit will start working Immediately to trigger and conduct the SCR, so C4 is continuously charged through R1 and R2, then is continuously discharged through SCR and L1, the secondary stage of the transformer T1 will produce the 10kV HVAC, this HVAC is discharged through the electrodes to automaticly light the gas furnace. Then because of the firelight illuminates RG, RG has the low resistance, so pin-4 has the low electrical level (lower than 0.6V), the SCR cuts off.
(View)
View full Circuit Diagram | Comments | Reading(562)
Published:2011/5/30 20:52:00 Author:TaoXi | Keyword: 555, discoloration, electronic, brooch
This electronic brooch circuit uses the double time base integrated circuit 556 as the core. It changes the color automaticly and has a lots of colours. The circuit is as shown in figure 15-47.
The astable multivibrator is composed of the IC1-a(1/2 556) and R1,R2,C1, the oscillation frequency fc=1.44/(R1+2R2)C1, it is about 1Hz.
The multivibrator is composed of the IC1-b(1/2 556) and R4,R5,C4, the oscillation frequency is the same as the IC1-a's oscillation frequency, the difference between the them is only 0.0027Hz.
When IC1-a outputs the high electrical level, the LED1 issues the red light; if the IC1-b outputs the low electrical level, LED2 turns off, the whole glowing tube shows the red color.
(View)
View full Circuit Diagram | Comments | Reading(561)
Published:2011/5/30 21:21:00 Author:TaoXi | Keyword: 555, voltage adjustment, timing, multi-function, electric outlet
As the figure 15-14 shows, the circuit is composed of the step-down rectifying power supply, the steplessly voltage regulating circuit, the natural wind artificial circuit and the timing circuit.etc.
The timing circuit is composed of the IC1(555), the MOSFET VT1, RP1 and C3.etc. If you open the power supply switch K1 and press AN, pin-2 has the ground electric potential, IC1's output high electric potential adds to the pin-4 of IC2(555). IC2 is the fan speed controller or natural wind artificial control circuit. After you open the timing switch K2, pin-3 of IC1 still has the high electric potential. Then C3 is charged through the VT1's power supply port, when C3's voltage is higher than pin-6's threshold level 2/3VDD, 555 flips and outputs the low electric potential.
(View)
View full Circuit Diagram | Comments | Reading(621)
Published:2011/5/30 21:43:00 Author:TaoXi | Keyword: 555, hotel, security, electronic lock
The control circuit is composed of the IC1(555) and the R1~Rn,R0,C1, it produces many kinds of oscillation frequency signals in the range of 10Hz~500kHz, you install the receiving circuits which have different frequencies. When you close one of the self-locking switches K1~Kn, and the passenger presses the corresponding Kn, the door opens.
The receiving action circuit in the guest room is composed of the special audio decoder circuit 567 and the transistor switch relay controller.
Figure (b) shows the structure schematic of the original night lock. When the relay closes, the steel core of the night lock is sucked in the middle part to pull the lock handle and switch.
(View)
View full Circuit Diagram | Comments | Reading(988)
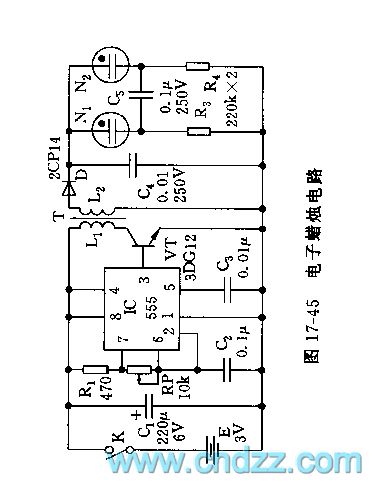
Published:2011/5/24 2:52:00 Author:TaoXi | Keyword: electronic candle
As the figure 17-45 shows, the electronic candle circuit is composed of the 555 oscillator and the boosting circuit.etc.
The astable multivibrator is composed of the 555 and R1,RP,C2.etc, the oscillation frequency f=1.44/(R1+RP)C2, by adjusting RP, you can make the oscillation frequency to 1kHz. The 555's output port drives the VT boosting amplifier circuit, the secondary stage of the transformer T can produce the 100V 1kHz singal, and this signal is rectified by the diode, then adds to the load neon tube to produce the soft and bright light. The transformer T uses the M4 type magnetic core.
(View)
View full Circuit Diagram | Comments | Reading(1740)
Published:2011/5/22 3:33:00 Author:TaoXi | Keyword: electronic, christmas tree
As the figure 17-48 shows, this circuit is composed of the clock pulse generator, the pulse distributor circuit and the driving display circuit.
The astable multivibrator is composed of the 555 and RP1,R1,R2,C1, the oscillation frequency f=1.44/(RP1+R1+2R2)C1. The oscillation period T=1/f. It's output is uses as the counting clock of IC2, IC2 uses the decimal counter/pulse distributor CC4017, under the action of the clock, Q0 ~ Q9 appeare the high-level pulses one by one, the pulse width is the clock period, and the pulses conduct the corresponding VT1 - VT6 in one time.
(View)
View full Circuit Diagram | Comments | Reading(949)
| Pages:169/195 At 20161162163164165166167168169170171172173174175176177178179180Under 20 |