Position: Home > Circuit Diagram > Control Circuit > Index 136
Low Cost Custom Prototype PCB Manufacturer

Control Circuit

Index 136



Thyristor_control_with_voltage_feedback

Published:2009/7/22 1:51:00 Author:Jessie

Thyristor_control_with_voltage_feedback
This circuit shows a UJT that is used as a thyristor trigger (with feedback), where the quantity to be sensed is in the form of an isolated feedback dc voltage (such as a tachometer output voltage). The feedback voltage is applied between voltage divider RC and the base of Q1. RC sets the operating point, and thus provides some manual control.   (View)

View full Circuit Diagram | Comments | Reading(1224)

GOLF_CARI_IRACTION_DRIVE

Published:2009/7/22 1:50:00 Author:Jessie

GOLF_CARI_IRACTION_DRIVE
Pulse-width-modulating series motor control was designed to operate motor in Cushman golf cart from 36-v battery supply. Provides 200 amp for climbing steep inclines and up to 300 amp for starting, Eight MP506 transistors in parallel ore used to switch peak motor load. Speed is changed by varying width of pulse that is applied to motor at constant rate, to vary overage motor voltage.-H. F. Weber, Solid-State DC Motor Control for Traction Drive Vehicles, Motorola Application Note AN-189, Mar. 1966.   (View)

View full Circuit Diagram | Comments | Reading(1707)

FULL_WAVE_SPEED__REGULATOR

Published:2009/7/22 1:48:00 Author:Jessie

FULL_WAVE_SPEED__REGULATOR
Features closed-loop feedback armature control to regulate speed of 0.5-hp shunt-wound d-c motor over 6:1 range .-“Silicon Controlled Rectifier Mannual,” Third Edition, General Electric Co,164,p145.   (View)

View full Circuit Diagram | Comments | Reading(1421)

Thyristor_control_with_feedback

Published:2009/7/22 1:48:00 Author:Jessie

Thyristor_control_with_feedback
This circuit shows a UJT that is used as a thyristor trigger with both manual and automatic (feedback) control. The feedback-sensing resistor RS can respond to any one of many stimuli, such as heat, light, pressure, moisture, or magnetic fields. The circuit operating point is set manually by RC. As Rs increases, more current flows into CT, the UJT triggers at a smaller phase angle, and more power is applied to the load. Thus, for this circuit, RS must decrease in response to excessive power in the load. If,RS increases with load power, then RS and RC must be interchanged.   (View)

View full Circuit Diagram | Comments | Reading(958)

SQUELCH_1

Published:2009/7/22 1:47:00 Author:Jessie

SQUELCH_1
Simple circuit using LM380 audio amplifier IC gives excellent performance. First transistor amplifies random noise which is greater in frequency than normal spectrum of voice during no-signal conditions. CR1 and CR2 rectify noise. Second transistor conducts and clamps U1 off when there is no signal. Increasing value of C1 increases gain of noise amplifier, but small value of C1 makes circuit less susceptible to heavy noise peaks.-R. Harris Another Squelch Circuit, Ham Radio, Oct 1976,p78.   (View)

View full Circuit Diagram | Comments | Reading(3462)

ACCELERATION_SENSING_SWITCH

Published:2009/7/22 1:46:00 Author:Jessie

ACCELERATION_SENSING_SWITCH
Sensing switch controls Q1, which provides power for accelerometer motor. Q2 and Q3 provide damping by current limiting, to increase ac curacy by one order of magnitude.-F. W.Kear, Dynamic Fluid Switch Senses Acceleration, Electronics, 34:38, p 64-67.   (View)

View full Circuit Diagram | Comments | Reading(605)

TWO_PHASE_INDUCTION_MOTOR_DRIVE

Published:2009/7/22 1:45:00 Author:Jessie

TWO_PHASE_INDUCTION_MOTOR_DRIVE
Transistors used as controlled switches in inverter Provide two-phase square-wave output from single d-c source,May also be used with hysteresis-synchronous motors to provide speed under load.-W. H. Card, Four Transistor Inverter Drives Induction Motor, Electronics, 32:8, p 60-61.   (View)

View full Circuit Diagram | Comments | Reading(1855)

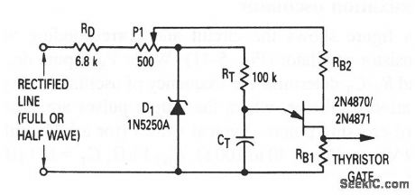
Thyristor_control_with_line_voltage_compensation

Published:2009/7/22 1:44:00 Author:Jessie

Thyristor_control_with_line_voltage_compensation
This circuit shows a UJT used as a trigger, where the thyristor must provide a constant output voltage, regardless of line-voltage changes. As line voltage increases, the voltage on the wiper of P1 increases (as does the UJT peak voltage), which increases the CT charge. With a higher charge on CT, the circuit takes more time to trigger, reduces the thyristor conduction angle and maintains the average voltage at a reasonably constant value.   (View)

View full Circuit Diagram | Comments | Reading(1290)

FULL_WAVE_PUSH_PULL_FOR_A_C_SERVO_MOTOR

Published:2009/7/22 1:43:00 Author:Jessie

FULL_WAVE_PUSH_PULL_FOR_A_C_SERVO_MOTOR
Circuit is identical to full-wave push-pull d-c shunt motor drive except for different arrangement of firing circuit,Limiting resistors R1 and R2 determine standby current.-W. R. Seegmiller, Controlled Rectifiers Drive A-C and D-C Motors,Electronics,32:4,p 73-75.   (View)

View full Circuit Diagram | Comments | Reading(698)

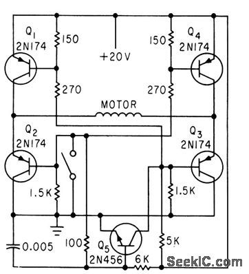
ONE_SOURCE_CONTROL

Published:2009/7/22 1:44:00 Author:Jessie

ONE_SOURCE_CONTROL
Q5 determines direction of current flow through motor winding, which in turn depends on position of motor control switch. Motor torsion opens switch, and acceleration during slowdown closes switch, to make motor speed proportional to acceleration.-F. W. Kear, D-C Motor Controls Improve System Accuracy, Electronics, 33:41, p 76.   (View)

View full Circuit Diagram | Comments | Reading(697)

Full-wave_thyristor_control

Published:2009/7/22 1:41:00 Author:Jessie

Full-wave_thyristor_control
This circuit shows a UJT that is used as a full-wave trigger for a thyristor (a triac),which controls a 900-w load.   (View)

View full Circuit Diagram | Comments | Reading(892)

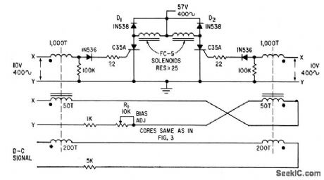
SERIES_ACTUATOR_SOLENOID_DRIVE

Published:2009/7/22 1:41:00 Author:Jessie

SERIES_ACTUATOR_SOLENOID_DRIVE
Consists of controlled rectifier in series with each solenoid, and saturable magnetic core firing circuit. Each magnetic core has two control windings, one for adjustment and one for signal. Can also be used to drive d-c split-series motors. Windings of motor then re place solenoids.-W. R. Seepmiller, Controlled Recliners Drive A-C and D.C Motors, Electronics, 32:46, p 73-75.   (View)

View full Circuit Diagram | Comments | Reading(844)

SQUELCH

Published:2009/7/22 1:39:00 Author:Jessie

SQUELCH
Simple system with sharply de-fined threshold can be added to any FM receiver. Circuit includes conventional IC audio amplifier. Audio is taken from FM detector output by shielded audio line and filtered by U2 to drive loudspeaker. Similar arrangement (below) connects FM detector output to 500K squelch sensitivity control, for amplification by Q1 and rectification. Q2 is turned off at thresh-old level determined by sensitivity control. Q2 then begins logic toggling action through U1.Low on pin 8 of U1 clamps off portion of U2,quieting loudspeaker. Signal carder reverses process, passing audio to loudspeaker. No-signal noise output voltage from FM detector should be at least 0.75 VAC. Circuit eliminates no-signal noise while allowing weakest desired signals to pass.-R. C. Harris, Versatile Squelch-Audio Amplifier for FM Receivers, Ham Radio, Sept. 1974, p 68-69.   (View)

View full Circuit Diagram | Comments | Reading(5089)

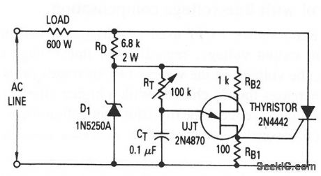
Half_wave_thyristor_control

Published:2009/7/22 1:38:00 Author:Jessie

Half_wave_thyristor_control
This circuit shows a UJT that is a half-wave trigger for a thyristor (an SCR),which controls a 600-W load.   (View)

View full Circuit Diagram | Comments | Reading(1271)

SQUELCH_ADAPTER

Published:2009/7/22 1:36:00 Author:Jessie

SQUELCH_ADAPTER
Designed for use with any solid-state receiver having discrete transistor audio stages. Uses RCA CA3018 IC containing four NPN transistors, connected here to give noise amplifier that drives DC bias control stage acting on switching transistor for AF stages of receiver (one transistor in IC is unused). Designed for circuits having positive supply-voltage ground; for negative-ground circuits, reverse polarity of 06 and connect C4 to negative ground. R1 should be about 5 times resistance of volume control in receiver. B+1 should not exceed +12 VDC and can be as low as 6V. B+2 is 3.5 V. Squelch is used chiefly when monitoring police bands on radio.-P. A. Lovelock, The Postage Stamp Squelcher, 73 Magazine, May 1975, p 103-105.   (View)

View full Circuit Diagram | Comments | Reading(1176)

ONE_TUBE_SQUELCH

Published:2009/7/22 1:34:00 Author:Jessie

ONE_TUBE_SQUELCH
Designed for insertion between second detector and AF volume control in tube-type AM receiver having AVC and well-filtered DC supply, to suppress noise when there is no input signal, such as when tuning between stations.-Circuits, 73Magazine, May 1977, p 31.   (View)

View full Circuit Diagram | Comments | Reading(849)

SWITCHING_MODE_MOTOR_SPEED_CONTROL

Published:2009/7/22 1:34:00 Author:Jessie

SWITCHING_MODE_MOTOR_SPEED_CONTROL
Power-switch stage consists of four 2N514 transistors in parallel, to handle starting or stalled motor current approaching 100amp.Rectifier and capacitor in parallel with motor minimize possibility of damage to power transistors when they switch off heavily inductive motor load. Variation of lime duration of on and off portions of power transistor cycle, controlled by 50K potentiometer in mvbr, provides control of motor speed while giving high staring torque.-Texas Instruments Inc., Transistor Circuit Design, McGraw-Hill, N.Y., 1963, p 477.   (View)

View full Circuit Diagram | Comments | Reading(1253)

REVERSING__DRIVE__FOR__SHUNT_WOUNDMOTOR

Published:2009/7/22 1:30:00 Author:Jessie

REVERSING__DRIVE__FOR__SHUNT_WOUNDMOTOR
Silicon controlled recliners in Half-wave circuit act with unijunction transistor and two rheostats to adjust speed in either direction,-J. C. Hey, The Widening World of the SCR, Electronics, 37:25, p 78-85.   (View)

View full Circuit Diagram | Comments | Reading(801)

TWO_SOURCE_CONTROL

Published:2009/7/22 1:29:00 Author:Jessie

TWO_SOURCE_CONTROL
Acts as bidirectional current switch that selects one of two oppositely polarized current sources for d-c motor of gyro or accelerometer. Switch is operated by opposing forces of motor torsion and acceleration. Motor torsion opens switch, reducing speed and therefore torsion of motor, and acceleration forces then dose switch. Shaft speed is therefore proportional to acceleration.-F. W. Kear, D-C Motor Controls Improve System Accuracy, Electronics, 33:41, p 76.   (View)

View full Circuit Diagram | Comments | Reading(673)

TRIAC_DIAC_REVERSING_SERVO_CONTROL

Published:2009/7/22 2:02:00 Author:Jessie

TRIAC_DIAC_REVERSING_SERVO_CONTROL
Varies speed and direction of 5-amp reversible series ac motor in accordance with d-c control signal. Polarity of control signal determines direction of rotation. Gain potentiometer adjusts slope of speed versus control voltage curve.-M. P. Southworth, Bidirectional Static Switch Simplifies Ac Control, Control Engineering, March 1964, p 75-76.   (View)

View full Circuit Diagram | Comments | Reading(2122)

Pages:136/312 At 20121122123124125126127128129130131132133134135136137138139140Under 20