Position: Home > Circuit Diagram > Index 458
Low Cost Custom Prototype PCB Manufacturer

Circuit Diagram

Index 458

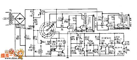
Motorola 2000 cell phone material object maintaining diagram

Published:2011/10/17 1:33:00 Author:Ecco | Keyword: Motorola , cell phone, material object , maintaining diagram

Motorola 2000 cell phone material object maintaining diagram
Motorola 2000 cell phone material object maintaining diagram

  (View)

View full Circuit Diagram | Comments | Reading(3111)

MX-5 movement protection schematic diagram

Published:2011/10/17 2:13:00 Author:Ecco | Keyword: movement protection

MX-5 movement protection schematic diagram
  (View)

View full Circuit Diagram | Comments | Reading(744)

Bistable flip-flop circuit diagram composed of CD4017

Published:2011/10/17 1:15:00 Author:Ecco | Keyword: Bistable flip-flop

Bistable flip-flop circuit diagram composed of CD4017
  (View)

View full Circuit Diagram | Comments | Reading(1517)

Lithium battery charger circuit diagram

Published:2011/10/17 1:29:00 Author:Ecco | Keyword: Lithium battery charger

Lithium battery charger circuit diagram
In this circuit, when it is in charging status, red light flashing shows that it is charging, and the green light flashing shows it is going to be full, then green light is lit completely, then it is full. As long as you have a 12V power supply, after finishing the circuit, you do not install the battery firstly, and adjusting the adjustable resistor in right corner make the battery output be 4.2V, then transferred adjustable resistor in the left corner make the pin 3 of LM358 be 0.16V, then the charging current is 380mA, and the circuit is ultra-fast, and three diodes connected in parallel is used to prevent overheating of LM317, and LM317 must add heat sink. The transistor shown in the figure can choose any model.   (View)

View full Circuit Diagram | Comments | Reading(3311)

TS26 circuit diagram

Published:2011/10/17 1:31:00 Author:Ecco

TS26 circuit diagram
  (View)

View full Circuit Diagram | Comments | Reading(776)

Eastcom EL610 cell phone board circuit diagram

Published:2011/10/17 1:14:00 Author:Ecco | Keyword: Eastcom , cell phone board

Eastcom EL610 cell phone board circuit diagram
  (View)

View full Circuit Diagram | Comments | Reading(1760)

Nokia 3300 mobile fault repairing material object color drawing

Published:2011/10/17 1:05:00 Author:Ecco | Keyword: Nokia , mobile fault repairing , material object, color drawing

Nokia 3300 mobile fault repairing material object color drawing
  (View)

View full Circuit Diagram | Comments | Reading(4796)

Emergency lighting circuit diagram 03

Published:2011/10/17 2:31:00 Author:Ecco | Keyword: Emergency lighting

Emergency lighting circuit diagram 03
  (View)

View full Circuit Diagram | Comments | Reading(1412)

BMW Electric box fan circuit diagram

Published:2011/10/17 2:35:00 Author:Ecco | Keyword: BMW , Electric box fan

BMW Electric box fan circuit diagram
  (View)

View full Circuit Diagram | Comments | Reading(1221)

BMW headlight and fog cleaner circuit diagram

Published:2011/10/17 2:36:00 Author:Ecco | Keyword: BMW , headlight , fog cleaner

BMW headlight and fog cleaner circuit diagram
  (View)

View full Circuit Diagram | Comments | Reading(861)

BMW (with DRL2) headlight circuit diagram

Published:2011/10/17 2:37:00 Author:Ecco | Keyword: BMW , DRL2 headlight

BMW (with DRL2) headlight circuit diagram
  (View)

View full Circuit Diagram | Comments | Reading(587)

BMW (without DRL2) headlight circuit diagram

Published:2011/10/17 2:38:00 Author:Ecco | Keyword: BMW, without DRL2, headlight

BMW (without DRL2) headlight circuit diagram
  (View)

View full Circuit Diagram | Comments | Reading(627)

The application circuit diagram of L5991 40W inkjet printer

Published:2011/10/17 2:40:00 Author:Ecco | Keyword: application circuit, 40W inkjet printer

The application circuit diagram of L5991 40W inkjet printer
  (View)

View full Circuit Diagram | Comments | Reading(3247)

BMW power window circuit diagram

Published:2011/10/17 2:39:00 Author:Ecco | Keyword: BMW , power window

BMW power window circuit diagram
  (View)

View full Circuit Diagram | Comments | Reading(963)

Bird S1000 cellphone repairing diagram 1

Published:2011/10/16 21:37:00 Author:Ecco | Keyword: Bird, cellphone repairing

Bird S1000 cellphone repairing diagram 1
  (View)

View full Circuit Diagram | Comments | Reading(1131)

PS21, 700X/700Y, WT112 diagram 1

Published:2011/10/16 21:34:00 Author:Ecco

PS21, 700X/700Y, WT112 diagram 1
  (View)

View full Circuit Diagram | Comments | Reading(622)

Infrared transmitting and receiving circuit diagram

Published:2011/10/17 2:11:00 Author:Ecco | Keyword: Infrared transmitting , receiving

Infrared transmitting and receiving circuit diagram
  (View)

View full Circuit Diagram | Comments | Reading(824)

Practical voltage regulator circuit diagram

Published:2011/10/17 2:12:00 Author:Ecco | Keyword: Practical voltage regulator

Practical voltage regulator circuit diagram
  (View)

View full Circuit Diagram | Comments | Reading(870)

Timing control circuit diagram of vibrator

Published:2011/10/17 1:40:00 Author:Ecco | Keyword: Timing control , vibrator

Timing control circuit diagram of vibrator
  (View)

View full Circuit Diagram | Comments | Reading(1666)

Homogeneous flow controller circuit diagarm of parallel module

Published:2011/10/17 2:06:00 Author:Ecco | Keyword: Homogeneous flow controller, parallel module

Homogeneous flow controller circuit diagarm of parallel module
Figure 1 shows the automatic homogeneous flow block diagram composed of number of DC / DC converter modules connected in parallel, and the system's outer loop is the current-control loop, inner loop is the voltage control loop.   (View)

View full Circuit Diagram | Comments | Reading(878)

Pages:458/2234 At 20441442443444445446447448449450451452453454455456457458459460Under 20